*** START OF THE PROJECT GUTENBERG EBOOK 60721 ***

Transcriber’s Note:

The cover image was created by the transcriber and is placed in the public domain.

BAD DRAINS;
AND
HOW TO TEST THEM:
WITH
NOTES ON THE VENTILATION OF SEWERS, DRAINS, AND SANITARY FITTINGS, AND THE ORIGIN AND TRANSMISSION OF ZYMOTIC DISEASE.

BY
R. HARRIS REEVES.
E. & F. N. SPON, 125, STRAND, LONDON.
NEW YORK: 35, MURRAY STREET.
1885.
iii

INTRODUCTION.

The impetus given to improvements in sanitary matters by the conferences held during last year at the Health Exhibition, as well as the desire shown by engineers and others to improve the sanitary condition of towns, has induced me to publish the following system of detecting defects in drainage and sanitary fittings.

It must be admitted that grave errors have been committed by engineers, architects, and builders, both in planning the fittings of houses and in laying drains to the main sewers, during the last twenty years. These errors have been found to have produced serious effects on the public health. They have also been the means of establishing throughout the country a number of Sanitary Protection Societies.

These institutions have been the means of saving many useful lives, but I trust that the day is not far distant when these societies will cease to exist, and ivsuch terms as “scientific plumbers” and “sanitary arrangements carried out on the most scientific principles” will be a thing of the past.

To my mind it is a national disgrace to know that in this nineteenth century architects and builders fixed fittings to houses, and laid drains from houses to sewers, which affected the health of the occupants to such an extent that it was necessary to establish insurance offices to protect persons from being killed by workmen or their employers. What a page for future historians!

The work or purpose of drains and sanitary fittings is to carry off by water the soil and dirt from our houses, and it is lamentable to think that this cannot be done without injury to life.

What should we say if the same precautions were necessary to test or examine the work of other professions or trades?

To many the system described in these pages may appear new, but it is by no means so, as it was discovered and used by me in 1880, and was then the means of finding out serious defects in a supposed perfect drainage system.

From that time up to the present it has proved of considerable value in determining any defect in the vconstruction of drains and fittings. With the detector and anemometer I have been enabled to discover the cause of so many failures in sewer ventilation, and to trace the origin and transmission of many cases of zymotic disease.

The object of this work is to place the same knowledge in the hands of every person connected with sanitary work.

May, 1885.
vii

CONTENTS.

PAGE
BAD DRAINS, AND HOW TO TEST THEM 1
 
SEWER VENTILATION 32
 
THE ORIGIN AND TRANSMISSION OF ZYMOTIC DISEASE 56
1

BAD DRAINS;
AND
HOW TO TEST THEM.

“Bad Drains.” How often has this term been used during the last few years? By the medical profession alone, thousands of cases have been attributed to this cause. To the honour and credit of that profession its members have thought out and worked out the cause of innumerable cases of disease under their charge, and rightly fixed their origin to be due to “bad drains.”

In many cases it has been but a fashionable term to describe cases which had the appearance of gas poisoning, but did not owe their origin to drains; but rather to the heated and impure atmosphere of rooms, late hours, and the sudden change from heat to cold. If there have been a few hundred cases where “bad drains” were supposed to have caused 2the illness and such was not the case, there have been thousands of others where the disease originated from them, but was taken as a matter of course, or as one of the frailties of the human frame, when undoubtedly the cause was “bad drains.”

It is a most remarkable thing, that whilst on the one hand we have the medical profession energetically working to find out defects in the planning of drains and sanitary fittings, and writing articles on them, we have on the other hand surveyors and others who have treated the matter as a doctor’s fad.

During the last five years scarcely a medical conference has been held without the question of “bad drains” forming one of the principal subjects discussed. Medical officers of health have made stirring speeches and reports to Local Boards; but where is the surveyor who has had the energy to do the same unless it has been actually forced upon him? It is a curious but noteworthy fact, that nearly the whole of the evils of badly constructed drains, and the principal improvements in them, have been forced on surveyors, builders, and plumbers by the medical profession and the public.

The reticence shown by surveyors in dealing with “bad drains” may be attributed to their unwillingness to acknowledge the errors and defects in works already executed. These works were, at the time, executed according to the theories adopted by the 3most eminent engineers in the profession, and it would be considered unprofessional to admit errors.

There is scarcely a district (excepting where drains have been laid within the last three years) where the branch drains are trapped into the main sewers with an efficient water-seal. Surveyors feel that to acknowledge this would be tantamount to acknowledging a want of professional knowledge or neglect of duty on their part.

Now, strictly speaking, this could not be the case, and a surveyor (placed in such a position where he knows that there are defects in his drainage system, and probably these errors were made by himself,) could say that these now known defects were not previously known by the most eminent engineers, and especially with regard to sewer-gas, its treatment, and action on the public health. Boldly facing the matter and advocating that the drainage under his charge should be so perfected that no medical man could point to it as being detrimental to health, if it entailed an unusual expenditure, coming from the surveyor he would carry the Board with him, and in doing so would make his position at the Board doubly secure.

To prove this we have only to refer to reports made by engineers during the last fifteen years on drainage schemes, compare the results of the theories laid down, and note the instances in which 4they have failed, especially those in connection with sewage farms and the ventilation of sewers.

I will quote a few extracts from these reports:—

“No injury to health can possibly take place from gas issuing from properly constructed gratings fixed in the middle of the road, and if one is a nuisance, dig down and put in others until the nuisance is removed.”

This has certainly not been the case. You may dig as many holes as you like, and put in as many gratings, yet some will be injurious to health.

In describing sewage farms, they were described as being (if adopted) the means of securing a large revenue to the Local Board by the excellent crops grown, one engineer stating that persons could walk through them with as much pleasure as through a flower or kitchen garden; but practical experience has proved this to be incorrect: and although these statements were made in good faith, they have not been realised.

You may regulate the irrigation of a sewage farm to such a nicety that no odour from the sewage is perceptible in the district; yet the atmosphere will contain poisons which will have a very detrimental effect on the health of those living there.

For a few years after sewage farms have been laid out, they pay, and you get good crops from them, 5but after that the ground becomes so soured that the farm is almost useless.

In face of these facts no surveyor should hesitate to bring forward known improvements to his Board.

Many owners of property have recognised the importance of adopting the best sanitary measures for their houses, although in some cases it is only a plea to let or sell their property. As an instance of this, some time ago I was in search of a house in the suburbs, and met with one described as standing on good gravelly soil, with good drainage and perfect sanitary arrangements. The builder and owner took me over the house, and on reaching the kitchen pointed out with some degree of pride that the sink was cut off from the drains, and stated that the drains were constructed on the most “scientific principles.”

Now although scientific plumbers have done good work in making our dwellings more healthy, they have in many cases overdone the matter. The fact of their displaying conspicuously, on signs and billheads, “Sanitary work executed on the most scientific principles,” is not always a guarantee that a healthy house can be received from their hands.

In the house above referred to, everything to the eye appeared sound and good, but on the house being occupied, a disagreeable odour was noticed in the kitchen, and in some of the lower rooms. The sink-pipe, 6which was pointed out by the builder as being “cut off,” ran from the sink trough without a trap or water-seal of any kind, and through this pipe, when the doors were shut, the air was supplied to the building at the rate of 180 feet per minute. The back of the W.C. was ventilated from the outside to give free ventilation to the space under the seat, and through the ventilators (which were working as inlets) the air came into the house, which supplied the bedrooms, passing over the pan, between it and the seat.

The above is an illustration of a house where the sanitary arrangements were supposed to be on the most scientific principles! Fresh air being supplied to bedrooms by passing over the closet-pan, and in the kitchen and rooms below by passing through a 2-inch sink-pipe. This is one of the many cases that may be mentioned to show the necessity of testing any system of drainage and sanitary fittings.

This is not an unusual occurrence, as thousands of similar cases exist, where the principal air supply passes over sanitary fittings or through apertures which bring it in contact more or less with decomposed matter. In a building where a number of fireplaces exist, a constant current of air is passing in from the outside, which after mixing with the air in the building escapes up the chimney. An ordinary chimney extracts from the room from 60 7to 120 cubic feet of air per minute, thus in a ten-roomed house you have going out of the chimneys at least 1000 cubic feet of air per minute. When the house is closed this large volume of air is drawn into it through apertures offering the least resistance, whether it be ventilators in the w.c., kitchen sinks, or drains in the basement (which traps may have been siphoned), over sanitary pipes or through doors and windows. Whichever point offers the least resistance, there the supply to feed the chimneys will come.

The injurious effects on the health of persons who occupy buildings that take in their air supply through unclean apertures are too well known to those medical men and others who have had experience in sanitary matters, and it can be only estimated by results. I could enumerate cases where the health of the inmates and the death-rate were conclusive evidence to prove the disastrous effects produced by air being supplied through such inlets. One case in particular, which consisted of eight blocks of buildings planned exactly alike. The drains were cut off on the outside at the foot of all soil-pipes, and a second disconnection about 50 feet from the building. In one building the basement was drained into the branch drain with a trap in the inside, and from the quantity of water and soil which flowed through this branch drain 8the basement trap was constantly being siphoned, leaving a 6-inch air supply into the building through 50 feet of drain. This, combined with 200 feet per minute through the W.C., had the effect of causing an unusual depression of spirits in the occupants of this building, and more deaths occurred in this one block than in the whole of the others.

It does not require a large amount of scientific knowledge to ensure a healthy building. What is required is sound pipes, the area of them in proportion to the work they have to do, tight joints, and a knowledge of ventilation. Nothing must be left to theory. A pipe either leaks and lets out the soil, or it is sound. If it is sound, sewage matter can be carried through it anywhere without the slightest injury to health or unpleasantness of any kind. Pipes can be ventilated without traps being siphoned, and the gases from sewers and soil-pipes treated so as to ensure healthy buildings at a moderate cost.

As a rule, the first intimation of any defect in the drainage system of a town or the sanitary fittings of a building is given by the medical officer of health or the medical attendant of the family, whose attention has been forcibly drawn to it by the serious illness of the inmates.

It is no unusual occurrence, that after the medical officer, surveyor, and inspector of nuisances have made a minute inspection of a building, they leave it without 9discovering defects which exist in pipes carefully cased over, or in the sanitary fittings.

To detect the manner in which poisons from drains are thrown into a building and inhaled by the occupants, is oftentimes not an easy matter. In many cases the drains have been so cut about and additions made to them, that to trace defects or even the number of drains which are attached to the branch drains or sewers, a considerable amount of excavating is necessary.

The system described in these pages is intended to prevent in a measure this excavating, and to enable a person above the ground to determine the number, capacity, and state of the drains underneath the surface, as well as to more readily discover any imperfections in soil-pipes and sanitary fittings.

When sewers are laid to a town or district, it is the practice of the authorities to let the work by tender, the lowest tender being oftentimes accepted; consequently it is in the interest of the contractor to get the work done as quickly and cheaply as possible.

It is impossible for the engineer, or clerk of works, to see the whole of the work done, and the result is that a large quantity of bricks which form the sewer are not properly bedded. Liquid sewage finds its way through the joints of the brickwork and percolates through the soil, in some cases to a very considerable 10distance, contaminating the water it mixes with on its course, and oftentimes it forms a putrid mass under the basement of buildings which happen to be of a lower level than the sewers. To prevent this, a clause should be inserted in the contract that each length of drain or sewer should be tested by atmospheric pressure, say 5 lb. to a square inch.

The top of the sewer should be as tight as the bottom to prevent any gas escaping through the sandy soil or rubble which may be filled in around the sewers or drains.

Leaky sewers and badly-jointed pipes under the soil should never be allowed, yet the danger is not so great in them as in those pipes laid above the ground. Joints to these pipes so often leak that without testing them thoroughly when laid, one leaky joint would cause an unpleasant odour in a building for years without its source being discovered. The reason of this is, that the current of air passes through buildings in a thousand different ways. I have known a sickly odour to come from a cupboard on the first floor of the wing of a building some 60 feet from any soil-pipe or grating; one case in particular, that of a nursery cupboard. This occurred through a leaky soil-pipe from the closet in the basement of the building.

From the planning of the building the chimney near the cupboard had the greatest draught of air 11in the house, and the air which supplied this chimney came principally from the basement. The sewer gas from the leaky joint, being of a heavier gravity than the atmosphere of the house, was carried along the floor unobserved to this particular room, filling at night, when the fire was not burning, this cupboard, which contained linen, and this held the impurities given off from the leaky joint in the pipe.

Many cases of a similar nature could be mentioned, where families will never recover the loss sustained by them through similar leaky joints in the soil-pipes.

Insufficient fall to sewers does not often occur in those laid under the supervision of engineers, but it is in the branch drains connected to them where so many blunders are made. Oftentimes one part of a drain is laid almost level, whilst another part is laid with a steep gradient. This facilitates the choking of drains, and the siphoning of traps.

Some persons lay drains from houses to the main sewer or to branch drains which are altogether out of proportion to the work they have to do.

The smaller the drain is kept the better, but the diameter should be regulated according to the quantity of water and soil flowing into it, taking into consideration the possibility of additional inlets being added.

12The best plan is to collect the number of inlets or supplies to the drain, compare them with the gradient to which they are laid, and put in a drain which, if all the inlets are supplying water at the same time, would not fill more than nine-tenths of its area.

In some cases I have seen a 9-inch drain laid from a house having only two closets, sink and bath outlet attached. If the whole of these were used at the same time, the area of the flow into the drain would only be 7·696 inches, but in the 9-inch drain the area would be 63·617 inches, or nearly nine times the size required to carry off the water and soil.

The whole space not occupied by water and soil is filled with gas, which extracts poisons from sewage and distributes them at outlets according to the displacement caused by the water and soil entering and flowing through the drain.

Architects and builders laying drains to houses or buildings should discard the theories of any persons who do not keep to this rule: that the smaller the drain is, the better, providing it does not fill; and the least quantity of gas there is in the drain, the less dangerous will be the poison in the gas when discharged through openings or gratings. The reason of this is, that in a small drain only a small quantity of the sewage is exposed to the action of 13the gas in transit; whereas in a large drain the greater portion of the sewage is exposed, thus increasing its decomposition.

When storm water from houses or land enters drains, great care should be taken to form openings or inlets near where drains are likely to fill, as the injurious effects of trap siphoning are of serious consequence to health.

In many cases the construction of new drains and sewers in a district have been simply a waste of money as regards improving the health of the inhabitants, and numerous cases of zymotic disease, and in some cases an epidemic has occurred where previously such diseases were almost unknown. This is caused principally by connecting old drains (some of which are disused ones and connected with old cesspits) to the new drains leading to the sewers.

In cesspits and old drains the soil and putrid matter have been for years allowed to accumulate, and the poison from such matter, when distributed into the open air through gratings in the new sewers or into houses, is, when inhaled into the system, the cause of these zymotic outbreaks. In tracing these old drains and in preventing stagnant gases from remaining in any portion of the drain, the engineer or architect cannot pay too much attention, as confined gases when charged with poisons from 14putrid matter are the principal factors in producing disease.

Many persons place a well-constructed trap at the inlet, and another some distance along the drain, say at the end of a building or grounds, without any ventilation between the two traps. In fact this used to be a common occurrence; but it should never be done. If the drain should be a 6-inch one, and the traps 50 feet apart, the amount of gas between the two traps would average 9 cubic feet, and this gas would in the ordinary working of the drain remain for years, getting more poisonous the longer it remained undisturbed. The owner of the house, knowing that he had a good trapped drain connected to sewers, would feel himself safe, and naturally think his house healthy. Far better for him if the house were drained into a ventilated cesspit, as when the gases in the drain became released, which may occur by the siphoning of the traps at the house-connection, the danger would be equal to the emptying of a disused cesspit, and carrying the contents through the house. The more a person tests the working of gas in sewers or drains the more he will find that branch drains from their construction supply the poisons which render the gases in the sewers themselves so noxious.

In 1880, whilst engaged in tracing the course of an outbreak of typhoid, I made a series of experiments 15with a view to trace the source from which the disease emanated, and every experiment proved that the origin of the disease lay in the gases which were in contact with putrid sewage matter, existing in old drains and cesspits attached to the sewers as well as in the gases which were confined between traps. The distribution of the disease was due to the imperfect construction of the sewers, drains, and sanitary fittings.

The most successful experiment, and the one from which the greatest result was obtained, and which I have ever since most successfully used, was in determining the state, size, and condition of the drains underground, and also that of the house or buildings, by measuring by compression the gas contained in the sewer or sanitary fittings. The principal cause of its distribution was the compression of the gas between the water-traps, the siphoning of house-traps leaving at times a free passage for the gas to enter the house.

The amount of compression or displacement necessary to force the gas in bulk through the traps has been accurately measured, to know what quantity of liquid was required to be thrown into a drain or sewer of any size to force the gas in bulk through the water-trap. The lifting power of the gas on the water by compression was found to be 1
300
part of its bulk. Thus, if a drain perfectly 16sound, and sealed with a water-seal each end, held 300 feet of gas, 1 cubic foot of water thrown into the drain would force the gas in bulk through the water-seal.

It became evident, that if both ends of any drain were sealed with a water-trap or otherwise for testing, the capacity of the drain or leaks of any kind could be determined without excavating.

As it was inconvenient to watch the working of the drain through the traps, I constructed an instrument called a detector[1] to observe the working of the atmosphere in the drain. This instrument, or a gas-pressure gauge, when attached to the drain, will denote by the rising of the liquid the amount of compression in the drain. This, when compared with the quantity of water thrown into it, will give the size and capacity of the drain, and will also indicate any siphoning of traps or leaks which exist in any of the sanitary fittings of the house.

1. This instrument with instructions as to reagents can be obtained from E. Cetti, Meteorological Instrument Maker, 36, Brooke Street, Holborn, price 12s. 8d. It is cheaper and more convenient than the pressure-gauge, and registers any pressure during the testing of drains.

The following table will show the amount of gas in every 100 feet of circular pipe or drain, from 4 to 30 inches in diameter, also the amount of water thrown into a trap to produce the necessary pressure of gas to lift the liquid 1 inch in the detector or pressure gauge: the quantity being as near as possible 3⅓ ozs. of water to 1 cubic foot of gas space.

Plate 1.

17
Diameter of Circular Pipe or Drain. Cubic Contents of Gas in each 100 feet length of Drain Pipe or Sewer. Amount of Water to produce 1 inch rise of Liquid in Detector. Area of Pipe 1728 = 1 cubic foot.
ins. cub. ft. gals. pts. ozs.  
4 81255
1728
0 1 7 12·566
6 191096
1728
0 4 0 28·274
9 44308
1728
1 1 2 63·617
12 78932
1728
2 0 5 113·097
15 1221242
1728
3 1 6 176·715
18 1761234
1728
4 5 0 254·469
19 1961546
1728
5 1 1 283·529
20 218288
1728
5 5 7 314·160
21 240913
1728
6 2 1 346·361
22 2631695
1728
6 7 0 380·133
23 288917
1728
7 4 2 415·476
24 314276
1728
8 1 6 452·390
25 3401530
1728
8 7 0 490·875
26 3681212
1728
9 4 13 530·930
27 3971063
1728
10 2 14 572·556
28 4271147
1728
11 1 12 615·753
29 4581201
1728
11 7 8 660·521
30 4901512
1728
12 6 9 706·860

The method of testing drains and fittings by compression of gas is as follows:—When the drainage 18plan of a building exists, the work of testing by compression of gas in the drain will be a very simple matter.

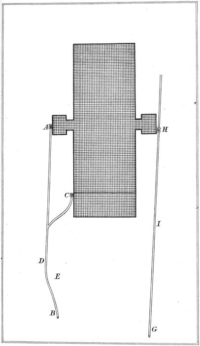
Plate 1 shows the drains as laid to a semidetached villa, with two inlets from sinks marked 1, one from bath overflow marked 2, and two from the soil-pipes of closets in the basement and first-floor marked 3. The drain from A to B is a 6-inch stoneware pipe, and its length is 100 feet. The amount of gas in it would be 191096
1728
cubic feet. The branch drains from the other inlets are 4 inches in diameter, and the collected lengths are 50 feet, and the quantity of gas in them would be 4627
1728
cubic feet, giving a total in the whole of the drain of nearly 24 cubic feet.

If the indiarubber pipe to the detector or pressure gauge is placed in either of the traps marked 1, and the glass tube filled with liquid up to the data line, 5 pints of water poured into either of the traps marked 1, will produce a rise of 1 inch in the liquid of the detector, that is if all the drains are clear and joints tight, the drains being stopped off for testing at A.

Should a trap be fixed anywhere between A and B a lesser quantity will be required to lift the liquid, and the position of the trap can be determined by comparing the exact quantity of water used with the capacity or quantity of gas in the drain.

19If a trap should be fixed or a stoppage formed in any part of the drain A B, the flushing of a closet or sink would, by the compression of the gas, force it in bulk through the weakest trap, or the one having the least dip or seal. The quantity which would pass through would depend on the amount of water used in the flushing and the fall of the drain.

The drains to the building having been tested, and their defects ascertained, it will be necessary now to test the soil-pipe.

On this plan it is fixed on the outside of the house, having a trap with an open grating just beyond the basement closet, and a ventilating pipe carried above the eaves of the roof. Whether the soil-pipe be fixed inside or outside of the building it should be perfectly gas-tight, and in this testing a person cannot be too particular.

In testing the soil-pipe shown on plan, the easiest method is to put the detector or pressure-gauge at the grating of the trap 3, placing the indiarubber tube over the grating, and making a tight joint with clay. Then close the top of the ventilating pipe and pour water in the top closet, when, if the joints are tight, the liquid in the detector will rise suddenly, and then lower itself as the water leaves the trap, indicating that the soil-pipe is tight, but if it is not tight, no rising of the liquid will take place. Should there be no trap at the bottom 20of the soil-pipe, it will be necessary to excavate down to the drain to take out a length of pipe, to seal the mouth of the drain with clay for testing. If there should be leaky joints or holes in the soil-pipe, a little sulphur burnt in the pipe, or a little pungent essence thrown into it, will clearly denote where the leaks are.

Having tested the soil-pipe and proved it tight, or effectually stopped all leaks as the case may be, no gas can be given off in these drains or fittings except through the ventilators (under ordinary circumstances) as no trap has been siphoned in the testing.

As before stated, the ventilating pipe runs to the top of the building of the same diameter as the soil-pipe, in fact this is a plan of drains to a house recently built in the suburbs of London, and the planning of them would be considered perfect by many sanitary men, but before we testify them as perfect, let us carefully analyse the working of the ventilation.

The ventilating pipe being carried above the roof is strictly in accordance with the bye-laws of the Local Board, although it spoils the appearance of the house. One reason why it was put there is to prevent the siphoning of the closet trap, and its height is to carry out the recommendations of medical writers in the Lancet who have so often 21insisted that these tall pipes, carried some feet away from chimneys or bedroom windows, were necessary.

Let us test this theory.

We will flush the closet by throwing down slops and giving the closet the regular flush, carefully testing what takes place. The result is that the soil-pipe, instead of carrying off the odours from the top, only forms an air inlet, and 2¼ cubic feet of air has been sucked in at the top of the pipe, and the same quantity of gas discharged through the grating. As this grating on the plan is only 2 feet from the passage door which leads into the kitchen, the least that occurs is that a portion enters the house, and the cook has a slight headache when preparing the meals for the day.

To be more certain of this let us test the working of the ventilation by a dozen flushings of the closets, and the same results are obtained by measurement, 27 cubic feet of air entered the top of the pipe, and has been driven out at the grating below. This proves that it is unnecessary to spoil the appearance of our houses by the erection of these pipes, or of carrying them above the soil-pipe or closet level.

It would not be consistent for me here to state how these unsightly pipes could be avoided, but I am confident that ere long they will become obsolete, although they have been erected by thousands in various parts of the country.

22We will now test the working of the ventilation in drains A B, and those in branch drains to traps marked I. As they are clear, we find that the gases in them are not so poisonous as in the sewers to which they are connected.

A manhole grating exists in the sewer some 40 yards from the back of the building, and through this grating the gas which is driven by the flushing escapes, and its density depends on the nature of the soil passing in the sewer. Its density is lessened by diffusion, or the mixing of the gas which takes place at the grating, but the time it takes for the gas which is in the drain near the traps I, to mix with the fresh air at the grating in the street is a problem that I will leave others to solve. We are certain that no gas in bulk can pass through the trap under ordinary circumstances.

We can now certify that the drains are tight, well trapped and ventilated, they are laid strictly in accordance with the bye-laws of the Local Board, and we can quote that similar plans were exhibited last year at the Health Exhibition, as models for country architects and builders to copy; and ninety-nine out of every hundred sanitary inspectors would sign the certificate that the sanitary arrangements were carefully tested, and found perfect.

Plate 2.

23Experience in working the detector will not allow me to do this. Although for months not the slightest particle of sewer gas has entered the building, until one evening about eight o’clock a sickly smell is observed in the kitchen, and this is attributed to a change in the weather, heavy rain having fallen during the day, and no notice was taken of it before retiring to rest. In the morning the house is unbearable. The inspector of nuisances is sent for, who cannot detect anything wrong in the drains. The surveyor to the Local Board visits the house with the same result, and it is not until the middle of the day before the nuisance has abated, its cause still a mystery to the sanitary officials and to the owner of the house, who is a medical man of great experience in sanitary matters, and a sanitary writer.

Now what really did occur was this. The sewer at the back nearly filled with water and soil caused by the heavy rains, and when this was rising, about 2 cubic feet of gas was forced from the drain B through the grating at the bottom of the soil-pipe. The junction where the drain at A joined the sewer was made as usual about two-thirds the height of the sewer, consequently the drain from A to B filled some 20 feet during the storm. When the storm abated, the water leaving the drain at A sucked the trap at the bottom of the soil-pipe 3. The seal being gone, the gas from the sewer at once came through the trap, the current being estimated at 24from 80 to 200 feet per minute; so that the quantity of gas given off at the trap, which is 2 feet from the door, would be about 2000 cubic feet from the time the trap was sucked until it was filled again by the flushing of the closet.

This is by no means an exceptional occurrence, two similar cases occurred in the suburbs last year. In one case the owner of the house was seriously ill for several days, and was for some weeks obliged to neglect his business and seek a change of air. In the other case the daughter was taken ill with a zymotic disease which nearly cost her her life, and it was months before she regained her strength.

The easiest method of preventing this siphoning of the traps is to fix a small mica valve at the most convenient part of the drain between A and B, fixing it above the ground. You can also prevent it as well as the gas coming near the house by putting in a trap at A and having an open grating between A and B. This would not prevent the 2000 cubic feet of gas before referred to from escaping from the drains, but would cause it to be discharged some distance from the house. You would also have about 23 cubic feet of gas in the drain always mixing with the atmosphere of the garden at this point when the traps are full and tight.

Plate 2 shows the plan and drains of a hospital which I tested by this system in 1880. As it was an old building the testing was somewhat different to that described in Plate 1.

Plate 3.

25For years a sickly smell was observed in the ward, and more especially when the heating apparatus was at work, and it was thought to arise from the number of bad cases in the ward. A good system of ventilation was adopted by the introduction of fresh air through flues which ran under the floor to the whole length of the building, and in winter the air was warmed by passing over hot-water pipes in the flues, and was distributed at various parts of the ward through open gratings in the floor, with a good extraction in the roof, which was open to the ward, but ceiled over the rafters.

Double the amount of fresh air was admitted, warmed, and extracted, with a view to improve the atmosphere of the building, but with no better results. I then decided to test the drains which were shown on the plan of the building as on Plate 2, the drain marked A B being tested first by stopping it off and fixing the detector at B. This being a 9-inch drain pipe and the length 130 feet, gave 57600
1728
cubic feet as the contents of gas in it. Adding 6 cubic feet for the branch drain at C, making a total of 63600
1728
cubic feet.

The amount of water required to be thrown into the trap A would be 1 gal. 5 pts. 3 ozs. to produce the necessary pressure of gas in the drain to lift the 26liquid 1 inch in the detector. Instead of taking 1 gal. 5 pts. 3 ozs., it took 7 gals. 6 pts. 9 ozs., giving an additional 237 cubic feet of gas space to be somewhere attached to the drain. This could not be leaks, if it had been the liquid in the detector would not have risen at all.

The ground was opened at D, the drain sealed, and the detector fixed, and the total quantity of gas in the drain by measurement from the seal to trap A was found to be 46 cubic feet, and by testing this was found to be correct, consequently the additional gas space was between B and D.

I particularly noticed that the gases in these drains were more poisonous than they should have been, considering the nature of the sewage flowing through them, and by using a reagent as a liquid in the detector, its discoloration indicated that the gas was in contact with a large quantity of putrid matter which was of a different character to that of the sewage flowing in the drain.

A drain searcher, or pointed rod was used, and after driving it into the ground a few times, it struck the large cesspit E, and by the sound given it was clear that a drain was underneath, when, on excavating, the old cesspit and drains shown on Plate 3 were discovered, containing more than 60 cubic yards of black putrid sewage.

The junction at F was cut off and the drain 27made good, when a second testing by fixing the detector at B gave the quantity of gas in the drain to be 63600
1728
cubic feet.

The cleaning out of 60 cubic yards of sewage and the removal of the old drains did not in the slightest degree diminish the nuisance inside the building, consequently the 15-inch drain on the opposite side of the building was stopped off at G and H, and in testing the detector was placed at G. This length of drain being 140 feet contained 1751098
1728
cubic feet of gas, and 4 gals. 4 pts. 8 ozs. of water thrown into the trap H should have lifted the liquid to the usual height in the detector. This and a similar quantity of water did not indicate any compression, but the discoloration of the reagent in the detector was much quicker than on the drain which was first tested.

The drain was then opened at I, dividing it into two sections, that from G to I containing 93 cubic feet. Testing this by 2 gals. 3 pts. 6 ozs. of water gave the exact rise in the detector, consequently the leaks and bad gas must be in the section from I to H. This was tested by a fresh reagent in the detector, when the speedy discoloration of the liquid indicated that the source of the poison was very near.

By a few piercings of the ground at K, by the iron rod or searcher, the drain was found, and by 28following the old drain the two cesspits and additional drains shown in Plate 3 were discovered, and about 150 loads of old putrid sewage had to be excavated and cleared away. The leaks which prevented the rise of the liquid in the detector were in the crown of the old sewage tank M, and the hot-water pipes of the heating apparatus running in an air-shaft just over it, the heat extracted the poisons from the sewage and distributed them into the ward.

The connections at K and N having been stopped up, the drain from I H was again tested, when it gave 36 cubic feet more gas space than there should have been in the drain. A few piercings of the soil at O led to the excavating of those old drains which are shown attached, and these being excavated and cleared away, and the connections to drains K, N, and O being stopped, the drain was again tested from I to H, when compression in the detector took place in comparison to the exact quantity of gas that should be by measurement in the drain.

In describing the method of testing drains as shown on Plates 1, 2, and 3, nothing has been mentioned as to the level to which branch drains to houses should be laid, or the method of testing them to ascertain their fall.

The fall given to branch drains should not be less than 1 in 100, but 1 in 80 is far preferable, and if the drains are laid to this level, water will flow easily 29through them, but should any part be laid out of a level the water would lay in them and thus give a less quantity of gas. Then when tested by compression to the capacity of the drain the lesser quantity would denote the nature of the dip.

When a plan of drains exists, as in the two cases shown on Plates 1, 2, and 3, the difficulty of testing them and proving their defects will not be as great as when no plan has been made. If no plan has been made or no record kept of them, it is best to make a rough plan of the building, fixing the positions of all inlets, their sizes and lengths, of branches to the drains on the premises, and also to lay down on the plan the length and size of this drain to where it reaches the extent of the property or joins the main sewer, opening the ground for testing in a similar manner to that described in Plate 1.

In testing pipes or sanitary fittings of any kind, leaks can be easily found by attaching the detector or pressure gauge to the most convenient part of the pipe or fitting, and when everything is sound care should be taken to flush all inlets at the same time, to ascertain whether the rush of water has any effect on the traps or water-seal. If the vibration in the detector or pressure gauge exceeds 2/10ths of an inch, a freer gas space must be provided, or the action of the water checked in some manner. Pipes, 30whether sanitary or otherwise, can be tested as to tightness in a similar manner.

Some modification may be necessary in testing large sewers or the drains of a district, but if the testing is performed in a similar manner to that adopted in the above case the condition of the drains and fittings can be accurately ascertained. The least pressure or suction on the traps of drains or fittings will be shown by the vibration of the liquid in the detector or pressure gauge when the water passes through the pipes with flushing.

The term “bad drains” is not exclusively confined to those drains that have leaky joints, or have an insufficient fall, or traps which siphon during the passage of the water, but may also be applied to systems of sewers in general. There are two points in almost every system of drainage that call for some improvement. The first is having the inlets at junctions where small drains join sewers at the side of the sewers. Thousands of traps are being continually siphoned by this cause as soon as the water fills the sewer above the inlet of the branch drain, as this, when filled with water only a short distance, forces gas through the weakest trap, and on the water and soil lowering itself in the sewer, this water acts exactly as the plunger of a pump and draws the water out of the weakest trap. This is often the one in the area or basement 31of the building, and to avoid this all inlets at junctions should enter the top of the sewers, not for the soil to drop down so as to cause the sewers to silt, but in an oblique direction with the sewage flow. The second point is in the ventilation of sewers, which is not an easy subject to handle.

32

SEWER VENTILATION.

The question of ventilation is a very difficult one, whether it is in connection with sewers or buildings.

The ventilation of buildings has received more attention than that of sewers, excepting within the last three years.

In the ventilation of buildings we have the work and experience of Mr. Haden, Captain Galton, Dr. Parkes, Messrs. Howarth, Tobin, Boyle, Banner, and others, who have not only made the ventilation of buildings their principal study, but have also spent large sums of money in carrying out experiments with a view of getting a system of ventilation applicable to any building. I have no doubt that each of the above authorities in house ventilation would candidly admit that some of the most favourable experiments they had made, and from which at the time they expected the greatest results, had, when they had been practically applied in different localities and under different circumstances, proved their worst failures in providing a regular supply of fresh air to and the extraction of foul air from any building.

If in the ventilation of buildings so many failures to get a perfect and universal system can be recorded, it is quite natural that the same will be the case in the ventilation of sewers.

33The most eminent engineers of the present day will admit that vast improvements must be made in sewer ventilation before they can say of a district where a quantity of drains are laid and a large bulk of sewage matter is carried through them, that the atmosphere of that district is as pure as that of one where no drains are laid or where no sewage matter can be found.

It was not until 1840 that the question of sewer ventilation received very much attention, and it is in the reports to the City Commissioners of Sewers and to the Metropolitan Board of Works that the earliest results are recorded.

The report of Colonel Hayward to the City Commissioners of Sewers, dated 18th March, 1858, contains some of the earliest and most valuable information as to sewer ventilation.

In that report it is stated that, previous to 1830, “the sewers were ventilated by the gulleys, which were large open shafts or shoots connected with the sewers without traps of any description: they were connected with gratings of large size, the bars of which were farther apart than those at present in use; there were no ventilating shafts rising to the centre of carriageways, nor were there any side entrances by which access to the sewers could be had. Whatever ventilation took place therefore was effected by the gulleys, and if a sewer required 34to be cleansed or examined the mode adopted was to open holes in the centre of carriageways down to what are technically called manholes, or working shafts, and perform these operations from these apertures, the shafts being left open a sufficient length of time to ensure ventilation before the men descended, and if there was fear of an accumulation of gas or mephitic vapour, which sometimes was the case near the heads of sewers, but at few other points in them.”

Complaints of the effluvium from these gulleys were made before the year 1830, and are stated to have grown louder and stronger after that date.

Here we have the first experience and results of free and open ventilation to sewers. As regards the number of these gulleys in proportion to the sewers we have no evidence in these reports, but judging from their being specified as large open shafts, the area for the inlet and outlet of air to the sewers would be if anything greater than that of the present day. Yet this report states that the ill odours which escaped from the gulleys, although they might not be pestilential, became more repulsively offensive, and the attention of the Commissioners of Sewers was drawn to the evil, and it was felt that some remedy or palliative ought to be devised.

The means taken to obviate this evil may be termed the first experiment in sewer ventilation.

35“A gulley trap was devised and fixed in the Pavement, Finsbury, in 1834, and in 1840 nine hundred of the gulleys had been trapped with a view to remedy the evil, with the following results.

“It became apparent even before that number was fixed, that the sewers were becoming dangerous to workmen to enter, and the gases generated found vent by the house drains (then generally untrapped) into dwellings.”

[It is quite evident that the compression of gases which takes place in the sewers by the rising and falling of the liquid and sewage flowing in them was not then known, or this experiment by closing the gulleys and ventilating the sewers through the house traps would not have been attempted.

At any rate the first experiment in sewer ventilation in the City cannot be said to have been a successful one, as it left matters worse than before.]

“To obviate this, ventilating shafts connecting directly with small iron gratings in the centre of the carriageways were formed: this mode of ventilating was also first adopted in the City, and the system of trapping (with numerous modifications in manner) and ventilating the sewers in the centre of the carriageways spread through the length of the metropolis.”

Can it be said that this alteration was an improvement in sewer ventilation?

36The noxious or pestilential vapours that were so repulsive in 1840 when escaping through the gulleys were not rendered less poisonous by being given off in the middle of the road or carriageways, but the constant passing of carriages over the gratings had the effect of mixing the gases of the sewer more quickly with the atmosphere of the street. Thus their noxious qualities were not so much observed, but the effect of these gases on the public health by this arrangement has not been as satisfactory as many imagine.

When the carriage traffic is suspended during the night, the effluvium from these gratings is now similar to that experienced from the shoots or gulley shafts in 1830. This opinion is formed by comparing the report with testings taken at the gratings last year.

The last improvement suggested to give a better system of sewer ventilation in the City is the erection of shafts at the sides of the buildings where possible. A resolution was passed last year by the City Commissioners of Sewers to erect these shafts where practicable. The effect of this alteration will be to remove the nuisance from the street and carry it to a higher level. If it is intended to work these shafts in conjunction with the open gratings, the effect will be that in some streets the whole of the gas from the sewers adjoining will be pouring out of one shaft. In the summer time its density will be increased by 37the friction in the shafts, and the high temperature of the atmosphere will cause a more rapid decomposition in the sewage.

In low buildings or warehouses there is nothing to prevent the poisons from the sewers from being conveyed down the chimneys into the buildings, and the employés taking a zymotic disease whilst engaged in their work and at night taking it to various parts of the suburbs.

It is better to let the gas escape at a low level, where it could be purified when it is a nuisance, and especially in the case of an epidemic, than discharge gas with a greater density at a higher level.

The General Board of Health in 1848 issued the following minutes of information with reference to sewers and house drains—

“Make proper provision for the ventilation of sewers and drains in such a manner that there may be a free current of air in them in the direction of the sewage flow.”

It was also recommended “that the stack pipes should be connected with the sewers without the intervention of traps, in order to assist the ventilation, and there should be no trap between the trap at the inlet and the sewer.”

This system was found far worse than the open gulleys or shoots in the City in 1830, as at Croydon (which was one of the first towns to carry out works 38of sewage under the General Board of Health) no sooner had the sewers been in use before an outbreak of fever took place.

Dr. Niell Arnott and Mr. T. Page, C.E., were appointed by the Home Secretary to report on the outbreak at Croydon, and Mr. Page in his report states—

“Whenever a water-closet even with the best form of siphon trap is introduced into a house, it will be well to provide an escape into the open air. When several soil-pans or sinks from the apartments of a large house are discharged into a common soil-pipe or vertical main, the main should be continued up to the roof and to the open air, and if practicable it should be carried near the chimney. Pipe sewers must also have ample ventilation provided at all available points. If the air is confined it is most dangerous when it breaks forth, which sooner or later it will do, such evils would have been avoided.”

It is quite evident by these remarks that the system of ventilating the City sewers in 1830 was more perfect than at Croydon, and had Mr. Page tested the sewers and sanitary fittings by the compression of gases in them, he would have found that the action of the water in the pipe prevented the gas from being confined.

In 1858, Mr. Goldsworthy Gurney made experiments in the neighbourhood of the House of Commons by connecting a number of the sewers 39near with the furnace of the clock-tower, and this was reported on by Sir Joseph Bazalgette as follows:—

“I find that the furnace of the clock-tower of the House of Parliament was supposed to have been connected with the adjoining district to the extent of about a quarter of a square mile, and with about 6½ miles of sewers, but that the ventilation had in reality been intercepted by a flap so that the benefit supposed to be derived therefrom was purely imaginary. Having come to that conclusion, the next thing I directed my attention to was, supposing the whole of the air extracted by that furnace was produced from the sewers, and supposing that all the intermediate channels could be stopped, and that it could be directed from the most remote ends of each of the sewers, and distributed over those sewers with the most perfect theoretical accuracy, so as to have uniform currents passing through each of the sewers towards that chimney, still the effect on those sewers would be nothing, and the way in which I prove my statement is this: the total area of the 6½ miles of sewers now connected with the furnace is 713 feet, the total area of the channel through which the air has to be brought from them is 8 feet, that is about the ninetieth part of 713; the air was passing at the rate of 542 feet per minute through the 8 feet area. Therefore, if I could divide that over the 40whole district, the velocity in all those sewers would be 6 feet per minute or ⅕ of a mile per hour. But we have shown already that there exist in the sewers from other causes velocities amounting to 100 feet per minute and upwards; and 6 feet per minute is practically speaking stagnation and not ventilation.”

This experiment was undoubtedly one that if it had been continued (instead of being abandoned), and the errors corrected, would have led to a more practical result. The area of the air space to the furnace was 8 feet, and the current 542 feet, or equal to 6 miles an hour. If this current had been the same in the sewers as in the channel, the suction produced on the water-traps of the small drains attached would lift the water in each trap a little more than 3 inches. But as the ordinary trap has only an average 2-inch dip, the weakest would have been at once sucked and the experiment a failure. Had the dips of the traps been 4 inches, the drains would have remained sealed except at the intended inlets. The air being supplied at the ends would have gone through the sewers without breaking the water-seal, providing that the air space between the crown of the sewer and the sewage was not in any way blocked. If the current in the sewers had been less than 200 feet per minute, the ordinary trap would have effectually sealed the various inlets.

41Had the average area of gas space above the sewage been 8 feet, the whole of the 6½ miles of sewers would have been emptied of its gas and supplied with fresh air in about an hour. The different areas should not have been considered, but the total quantity of gas taken.

The velocities of 100 feet here mentioned, is accounted for as follows. Should the sewage in any part of the sewers lower itself, causing an additional gas space in that part of the sewer, the rush of gas in the sewer to fill the space would cause this 100 feet per minute current.

These hitherto unaccountable currents in sewers and drains are produced by the variation of the gas space above the sewage, the result of water being thrown in at the various inlets.

The gases of a sewer may be passing backward and forward in currents varying from 100 to 300 feet per minute, and not any ventilation would take place except at the gratings, and this would be very little indeed when the gas in the sewer was of a heavier gravity than the atmosphere.

Speaking on the same subject, Colonel Haywood says, “a down draught so complete as to be superior to the diffusive power of the gases, you cannot start with a velocity of less than 2 miles an hour, and suppose the whole district has been so arranged as to have a sufficient exhaustive power, the mere opening of 42a water-closet, or the enlarging or the putting in of a new drain into a sewer, or the making of a hole a foot square, or a servant taking up a bell trap in a sink, or a sewer-man lifting a side entrance covering, would very much destroy the power of the furnace, and unless you had a gigantic power sufficient to guard against these casualties the system could only be a failure.”

What is here meant is, suppose that if the whole of the 6½ miles of sewers were emptied of their gas at a velocity of 2 miles an hour, the poisons from the sewage would not be noticeable or injurious in the atmosphere of the drain. If each inlet to the sewer was trapped, the opening of a water-closet or the opening of a bell trap in the sink would not have affected the 2 miles an hour current in the sewers.

Had the currents in the sewers near the furnace of the clock-tower been kept at 2 miles an hour, the traps being tight, and attention been paid to the compression of the gases in the sewers by the water entering them, the experiment would have been in a measure a successful one.

From 1855 to 1872, Sir R. Rawlinson, C.B., Dr. A. Miller, and Sir Joseph Bazalgette were carrying out experiments with charcoal trays and screens, and a committee of the Metropolitan Board of Works in their report, say:—

“The results were sufficiently favourable to warrant 43the use of charcoal ventilators in connection with such air-shafts as were sources of annoyance and complaint, but their adoption had also the effect of diminishing the upward current of foul air through the shafts and of confining it to the sewers, thereby endangering the safety of the men working in them, so that it is necessary that such ventilators should be cautiously and not generally applied.”

These experiments in sewer ventilation were the most valuable of any yet made to solve the question, but their failure could be attributed to the following results.

The working of charcoal in the extraction of poisons given off from sewage in its transit through the sewers, and which poisons become mixed with the gas, and the placing of charcoal in layers or baskets so that the gas should pass through the interstices of the charcoal, is without a doubt the best method of dealing with charcoal as an agent in arresting or picking up the poisons from putrid matter which is contained in the gas. But the obstacle this gives to the supply or exhaust of air to the sewer is greater than the power of the water-trap: consequently traps are sucked or forced, and the inlet of fresh air takes place through them into the sewers.

The gas from the sewer escapes through the weakest trap into the house, thus nullifying the effects of the charcoal trays and rendering them 44almost useless. The passing of the gas over the tray would prevent this, but experiments prove that charcoal has not the power to attract and retain the poisons from the sewage, and which is retained in the gas. Thus these poisons pass over the charcoal through the grating into the street.

These experiments prove that if the poisons from the gas are extracted at the outlets, and the drains into sewers trapped with a water-seal, and the siphoning or forcing of traps are prevented, sewers can be ventilated without being a nuisance or prejudicial to health. But it must be borne in mind that the instant the current of air in sewers, drains, soil-pipes, or sanitary fittings exceeds a velocity of 3 miles an hour, even if they have open ends, no trap with a 2-inch seal is safe from being siphoned.

Many surveyors state that sewer gas is uncontrollable. This is an error. The gases of a sewer are as controllable as the atmosphere of a room. It is the compression of the gas caused by an increase of water in the drain, and the temperature of the atmosphere on the surface of the ground at the various points where the gratings are fixed, which makes the currents of gas in drains so uncertain. The sudden lowering of the sewage in a drain will stop the nearest gratings or shaft from working as inlets.

What led engineers to form this opinion was the 45failure of experiments with motive power to get certain results in ventilating sewers, the same as in a building. It is impossible to get ventilation to sewers through open gratings except the inlets from the house drains are sealed with a water-seal.

The unsatisfactory results obtained from many experiments in sewer ventilation have not been the fault of the plan or the appliances used, but arose from the wretched manner in which house drains have been connected to the sewers.

I shall never forget the testing of some sewers with a view of improving the ventilation of them. They were public sewers and almost new ones, and as far as the sewers themselves were concerned you could not have had better, both as regards a good fall and tight joints. But the manner in which the connections were made to them was something astonishing. Untrapped gulleys at the sides of the streets, drains from the sewers into the kitchens of houses without a single trap. In some cases two or more traps were fixed according to the whim of the owner of the house. Rain-water pipes from the flats of windows on the ground floor were connected to sewers without traps, closets with no ventilating pipes, and a dozen other imperfections were found on the branch drains and fittings.

Before completing the tests of these drains and fittings, I suggested that all faults and errors found 46in connection with the branch drains should at once be remedied, and each drain be connected to the sewer with a trap, or else it would be of little use to improve the ventilation of the sewers. I was quietly informed that this could not for one moment be entertained, as where these evils were the worst was on property belonging to members of the Local Board, and any attempt to pass a resolution to compel this to be done would be futile, and the necessity of doing it attributed to the zeal of local sanitarians.

I am glad to say that cases like this are exceptional, but there are many towns where similar evils will remain until an epidemic breaks out and the authorities are compelled to have them remedied. The amount of air passing through the sewer is no indication of the ventilation or the amount of air that is being admitted, or the quantity of gas charged with poisons that is given off. I have tested the gas in a sewer and at the ventilating shafts, and have repeatedly found the gas in the sewer flowing at a high velocity whilst the air in the open ventilating shaft was perfectly stagnant.

I have not been able to make experiments to know how long gas will remain in a sewer, but from observations of its gravity and working in different localities I believe that the poisons from sewage matter are retained in the lower strata of the air of 47sewers in some cases for months, and when open gratings are only 50 yards apart. The quantity of air taken in at the gratings at this time is a little more than the displacement caused by the water, and when gases are released to any extent it is through atmospheric influences.

If you measure the amount of air going in and out of say twenty open gratings in the same locality, the small quantity would astonish those who had not previously tested it.

Repeatedly has it been written and said that if you put a shaft or grating at the top of a hill, or sewer, it will take off the impure gas of a district, but I have had men working for days at the top of a sewer 150 and 200 feet higher than the lowest grating, and no trap intervening, yet during this time not a particle of gas left the drain at this the highest opening, but at times a good inlet current would take place down the drain.

I find that one of the most fatal mistakes to make in sewer ventilation is to introduce a large quantity of fresh air into a sewer at a high temperature. An atmosphere at from 90° to 100° thrown into a sewer will rapidly decompose sewage matter and produce results exactly opposite to that intended. It is when the hot atmosphere of a summer’s day comes in contact with the sewage in the sewers that the worst poisons are generated and given off, and 48the gases which come from the gratings are the most noxious. This rapid decomposition is more particularly felt in the suburbs, where the drains are of stoneware and the sewage has to be carried through them for a considerable distance.

Common sense teaches us that all matter of a nature like that passing through sewers will decompose more rapidly and reach a higher state of putrefaction in an atmosphere of a high temperature, even above ground, than in any other condition. Experiments confirm this to be the case whether it be applied to matter in sewers, vaults, or tanks. The best experiments that I have made in sewer ventilation is in keeping the temperature as low as possible, admitting into the sewer sufficient air to prevent any action taking place on the water-seal, and what gas came out of the sewer by compression to purify it at the gratings, extracting the poisons that it had taken up from the sewage.

Many gases which are found in sewers have an affinity to water, and will make their way to the water-seal and become absorbed in the water of the trap to some extent, but not to the extent many persons imagine, or to become detrimental to health.

When a disinfectant having a greater attractive power than the water is used in connection with the ventilation, this attraction to the water-seal will not take place.

49If necessary, in hot weather or in large sewers, or those of an easy gradient, cold air of a very low temperature could be introduced, which would prevent decomposition taking place to any extent during the transit of the sewage. If the whole area of a system of sewers was charged four times a day with air at a temperature of 30° we should have no complaints of sewer gas.

The details of such plans would be out of place here as they are the subject matter of several patents, but sewage can be carried through districts without its gases being injurious to health or without sewage being subjected to rapid decomposition almost as easily as meat is now transmitted from New Zealand to England without any decomposition taking place during its transit.

Before leaving the question of sewer ventilation it will be well to note the results obtained by the valuable experiments I have quoted, and which have been made from time to time by the City Commissioners and the Metropolitan Board of Works. One cause of the failure of these experiments has been conclusively proved to be due to the wretched condition of branch drains and house connections attached to the sewers on which the experiments were made, and these are in a measure out of the control of the officers of these Boards; and until a proper survey of branch drains and house connections has been made, 50and traps placed in proper positions, the ventilation of these sewers will be almost as imperfect as in 1830.

The sanitary survey which is now being made in this country by the Local Government Board will fail in one of its most important objects unless it insists on every surveyor knowing the condition of drains under the surface of the ground. A cursory glance at the plans of a district, or a surface sanitary survey will not do very much in arresting zymotic disease, and the staff stated to be employed on this survey is totally inadequate for the work.

To successfully deal with sewer ventilation it should be divided into two sections: (a) That of the sewers and branch drains which are directly under the control of the officers of the various Boards, (b) Those drains immediately attached to houses, including the soil-pipes.

The necessity for ventilating a sewer is, that in an unventilated sewer or drain the instant a compression of the air in a sewer, between the sewage and crown of the sewer, takes place to 1
300
part of its bulk, gas is forced through the weakest trap according to the displacement of water, and as the water is lowering in the drain fresh air will be admitted into the drain through this trap. Thus if a drain or sewer is not ventilated it will ventilate itself.

Should a sewer be ventilated with open gratings in 51the centre of the roads, the placing of gratings at a moderate distance apart would diffuse the gas equally in a flat district if the temperature on the surface of the ground at each grating were the same, but the variation of the temperature in streets is such that the heat of the street at one grating will be a sufficient motive power to extract the gas from many sewers through this one grating, the others only forming inlets while the increased heat lasts.

In hilly districts, where the drains are of necessity of a steep gradient, the quick flow of the sewage will cause the gas to pass more rapidly when much sewage is flowing in the drain, the worst gas coming out at the lowest grating, generally a grating before a junction, or where two drains meet of different gradients: but when scarcely any sewage is flowing, the gas will flow to the highest grating. Thus, in putting gratings on steep gradients (if no method of purifying the gas is used), the gratings should not be placed in regular distances apart, but where the gas can be discharged in the most open space.

In hot weather, although ten times the amount of air passes through sewers of steep gradient than in a flat district, the gases from sewers on a steep gradient are far the most noxious. If open gratings only are used on a system of sewers, the gas but not the 52sewage should be trapped off into districts, not only as the means of preventing the gas rushing in volumes to certain points, but for preventing germs of disease travelling in the gas of a sewer from an unhealthy to a healthy district, which is the case under the present system, by leaving sewers for miles without any gas check.

We have in sewers and drains a power created by the influx of the sewage which is greater than any mechanical means that can be used in the ventilation of them, and it is to get the best method of applying this power that sanitary engineers must direct their attention.

The difficulties that are met with in ventilating sewers with open gratings are so great, that I am convinced that as soon as engineers study the question more fully, the system will be abandoned.

The method of carrying off the soil by water through sewers has proved a good and convenient one, and scarcely any defect can be found in any drainage scheme except that of the ventilation, which is at present one that is condemned by the inhabitants of most towns as a nuisance, especially in hot weather, and by the medical profession as being most prejudicial to health.

As a remedy for this, we must profit by the experience of the early experiments I have quoted, which points conclusively to the fact that if we extract 53from the gas (which by compression must of necessity leave the sewers at openings) the noxious and disease-producing poisons contained in it, at the gratings, and by those means prevent a rapid decomposition of the sewage taking place, and without putting any undue pressure on the water-seals to houses, we have overcome the greatest difficulty in the work.

In old drains or sewers it will be the work of some time for the surveyor to know that each drain from the house to the main sewer is trapped with a good water-seal, yet this is the most important factor in providing good ventilation.

Some persons have hastily condemned the water-trap, having found out that they have been siphoned by the transit of the sewage. This is a mistake. A properly constructed water-seal or trap that clears itself at each flushing is the best seal for sewer gas. It will not keep out gas if it is forced in bulk by excessive pressure, any more than coal gas can be kept out of houses if a greater pressure is put on at the works than the resistance of the trap in the chandelier. In manufacturing gas, either experimentally or otherwise, water is the seal always used, but we do not attach anything to break that seal when dealing with gas for illuminating purposes, the same as is done in many cases with sewers.

Where new drains are laid, no difficulty in getting 54a good seal to branch drains need be experienced, and no drain from the house to sewers should be laid without its being completely disconnected or cut off as near the soil-pipe as possible.

In dealing with the ventilation of soil-pipes or vertical drains, many improvements can in future be made. The idea of carrying tall ventilating pipes to the tops of houses was to carry off gas that was forced in bulk through the trap at the bottom of the soil-pipe from the sewer, but in well-laid drains this should never occur. If the drain be disconnected it would leave at the point of disconnection.

The velocity of the water rushing down the pipe, as proved in the previous chapter on drain testing, carries the gas out at the bottom of the pipe, the top of the pipe forming the inlet when odours are given off from the passing soil, but as soon as the flushing is over a return current takes place and fresh air ascends the pipe.

If you do not use any method of purifying the gas which escapes through the pipe, the best plan is to have the pipe as open as possible at the top and bottom, and at all bends, for ventilation. These openings need only be just above the level of the water flow to prevent splashing, and by following this rule those unsightly pipes (which give buildings more the appearance of a distillery or chemical works rather than a dwelling-house or home) can be 55avoided and erected so as to form one of the ornaments in the architecture of the building.

There is at present too much theory in sewer ventilation, without paying any attention to results gained, or to the laws which control the atmosphere and its action on sewage matter.

56

THE ORIGIN AND TRANSMISSION OF ZYMOTIC DISEASE.

Whilst making experiments and taking observations five years ago, to trace the origin and transmission of some cases of zymotic disease, I formed an opinion that the theory as regards the transmission of zymotic disease by contagion was to a certain extent an erroneous one.

I mentioned this to some of my medical acquaintances at the time, but as it was so opposite to the prevailing ideas, I was advised not to publish or hold out such opinions, as they were contrary to the theories accepted by the medical profession.

Now that these theories have been severely shaken, and in many cases reversed by medical men themselves, during the past year, I shall plead no excuse, but insert them for the guidance of those engaged in sanitary work.

The source of zymotic diseases may be traced to persons inhaling or taking into the system poisons from putrid sewage matter, and those poisons are conveyed into the body, either in the food they eat, the water they drink, or the air they breathe. Whether they are organic or inorganic, they poison the blood, which becomes more or less diseased, according to their density or vitality, or whether 57each of the zymotic diseases is produced by distinct organic germs grown and developed from putrid matter under different atmospheric influences, it matters not to my mind in proving the true method by which zymotic diseases are transmitted.

On the origin or source from which these diseases are produced, I do not think there are two opinions, viz. that of poisons from putrid matter, and the question to be solved is in what manner these poisons are conveyed into the system. To do this it will be necessary to quote some cases of zymotic disease and the circumstances which surrounded them.

In a small district, a girl thirteen years of age was taken with diphtheria, and in two days after the younger brother was taken and the other children appeared sickly. From investigation it was certain that the poison had not been conveyed into the system by food or water. The children generally took their meals in the kitchen, the door of which opened into the yard, which was about 10 feet long by 8 feet wide, in the corner of which was the W.C. I tested the atmosphere entering the room at the bottom of the doorway, and found that it contained poisonous matter, and on testing the closet and drains I found a hole 3 inches by ¼ inch in the closet trap. Here was the source of poison which produced the disease. The gas in the drain was confined between two traps and in contact with putrid sewage matter, and when 58it was removed no poison from any other source could be detected. The first child that was taken ill died, but the other recovered.

Now it is quite evident that the second child did not take the disease from the first, as it had not time to develop. The atmosphere of the room and the breath of the child were not as poisonous as the atmosphere of the kitchen in a line between the kitchen fire and the door, and it was on this line both children sat at their meals, and thus inhaled the poison with their food. Had the gases in the other drains of the district been of the same density as in this one, and similar leaks existed in the sanitary fittings, diphtheria would have spread, and by the popular theory its transmission would have been attributed to contagion from this family, which in face of the above facts would have been incorrect.

Another case. In a large town diphtheria broke out, and some hundreds were attacked and over two hundred died. The source of the disease was not in the food or water, and the only disease-producing poison that could be found was in the gas issuing from the sewer gratings and sanitary fittings. Schools were closed and the usual remedies used to prevent contagion, but all to no purpose. The sewers being of an easy gradient had silted, forming at intervals masses of putrid matter, and in the best houses, where the disease was most prevalent, 59poisons from the sewers were laid on to them by the badly-constructed drains and sanitary fittings. The authorities at last took the matter vigorously in hand, cleansed and sweetened the sewers as much as possible, and then the disease abated and died out. Had contagion been the means by which the disease was transmitted, it would have continued as it existed in the town under almost every kind of atmospheric temperature.

Here we have evidence showing that putrid matter did exist from which poisons were given off and their mode of transit into the body, but not the slightest evidence to prove the poison passed direct from one person to another.

These poisons in the gas can be destroyed by washing the gas in a chemical solution on leaving the grating, and since this has been done medical men have cured the disease by washing the throat in a similar solution.

Numbers of typhoid cases could be mentioned where poisons from putrid matter were conveyed into the system by water, milk, and impure food, but I have never heard of a case where the poison was detected leaving one person for another.

If in 1883 a person had stated that cholera was not contagious, they would have been ridiculed, yet the principal physician and those in charge of the cholera hospitals of Paris last year, certified to the 60representative of one of our daily papers that cholera was not contagious. The cholera epidemic of last year proves that cholera poisons are produced by heat and atmospheric influences on putrid matter, and circumstances favour the theory that they are inorganic, and when inhaled into the system poison the organisms of the blood to such an extent as to produce the disease. Cases of cholera broke out in different parts of the Continent at the same date, clearly showing that contagion had nothing to do with producing or transmitting the disease. In England our ports were jealously watched to prevent any case from being landed. Had a case been landed, the excreta from that one case might, when mixed with the sewage of a large town, have been the means of spreading the disease through the whole district, as miles of sewers are so laid that poisons in the gases can be effectually distributed through the district in a very short time. Open ventilation to sewers would greatly assist this, and especially when the gases in the drains and the fresh air admitted into them were of a high temperature. It is very improbable that cases if imported would break out in two towns at the same time, or that the poison could be conveyed in the atmosphere which divides us from the Continent.

Fortunately, when the continental outbreak was known, the authorities in the metropolis and other 61towns used disinfectants on all known putrid matter, and especially at the sewer gratings. This was an expensive process, but it had the effect of preventing the atmospheric influences (which were similar to those on the Continent) from developing the poison to a vitality necessary to give the disease.

It would be an excellent preventive if the authorities of towns would thoroughly examine every part of their districts, and know for a certainty whether in their sewers, cesspits, vaults, or dust-bins there existed putrid matter, or gases from them similar to those which produced the disease on the Continent. The expense of such an examination and for remedying the evils cannot be an excuse for not doing this work, as the monetary loss experienced by the residents of those continental towns and cities by the outbreak was enormous. What the loss would be to the residents of the metropolis if a cholera epidemic were to occur, it is difficult to imagine, and yet in many of the districts cholera-producing elements exist from which in all probability the heat and atmospheric influences experienced during several weeks of excessive dry weather during the summer months will produce poisons of a similar vitality to those produced on the Continent during the past year.

Previous to the cholera epidemic, small-pox was very prevalent in London, and I very carefully noted 62the cases as they were reported, and visited the districts where the disease was most prevalent, for the purpose of testing the nature of the gases in the sewers, and observing how the sewers and sanitary fittings were constructed.

In many of these districts, and especially those of Homerton, Hackney, Bow, and Bromley, the drains are so laid and the fittings so constructed that a supply of sewer gas is pumped into the houses, and it is impossible for persons to live in the houses of these districts without inhaling gases that have been for a long time in contact with sewage matter.

Whether the small-pox poison is an organic one (which I believe it is), and is produced from a collection of matter in a high state of decomposition, with or without being mixed with the excreta of persons suffering from the disease, or whether it is of an inorganic nature, the poison is derived from this source rather than from the impurities thrown off through the skin of persons suffering from the disease. As a proof of this, as soon as the cholera broke out last year on the Continent, almost every gulley and grating in the metropolis where sewer gas passes was charged more or less with a disinfectant, which minimised the poison in the gas. The result was that small-pox abated in an epidemic form although the temperature of the atmosphere increased.

63The disinfectants so placed could not, naturally, affect the gas in branch drains to houses, or putrid matter in various parts of the sewers, or if it had, judging from its beneficial effects at the outlets, small-pox would have disappeared.

If contagion were the means by which this disease was distributed, disinfectants at sewer gratings would not have prevented the disease continuing in an epidemic form.

Take the adjoining districts of Fulham and Putney. During the epidemic, the gases from the sewer gratings in the Fulham district were more dense than those at Putney. Fulham had many cases of small-pox, but Putney none, although persons from each district were in daily contact with each other; but the houses were not connected by the same system of sewers.

It must not be thought that I wish to advance the theories of the anti-vaccinationist. I have had my children vaccinated because it is the law, and in the opinion of medical men a preventive against the disease, but viewing the change of medical opinion with reference to cholera during last year, and comparing tests and observations that have been made, they will soon be convinced that vaccination is a futile remedy to use with a view of stamping out the disease.

At present the question is (with medical men) one 64of theory, but ere long I am certain that they will take a more practical view of the case and definitely fix the origin of this disease and its distribution.

Previous to vaccination being introduced, putrid matter in vaults, cesspits, and drains was allowed to reach a higher state of putrefaction, and thus the poisons from them became more virulent and produced the disease of a more virulent type.

If modern systems of drainage and sanitary arrangements were the means of preventing this high state of putrefaction, and of reducing the disease to a milder form, perfecting these arrangements should be the means of stamping it out altogether and rendering vaccination useless.

Unless it can be proved that poisons given off through the skin and from the lungs of persons suffering from the disease are as virulent as those from putrid matter alone, or from the excreta from those suffering from the disease, the theory of contagion[2] cannot be entertained.

2. The word contagion as here used is not intended to apply to cases where persons not affected sleep in the same bed, or wear the same clothes, or handle things from, or persons suffering from this disease, as this would be inoculation.

Many medical men will say that the facts to prove that small-pox is transmitted by contagion are so positive that there is no chance of disputing them.

Let us examine two cases to support this theory.

65Small-pox is prevalent, say, in the north of London; a man is in business there from seven to eight hours each day, but his home is in the S.W. district. He is taken ill, and remains at home, calling in his medical attendant, who on his second visit pronounces it a case of small-pox, and orders his removal to the hospital. In a few days other members of the family are taken and removed, and similar cases occur in the neighbourhood.

The theory of the medical man would be that his first patient had contracted his disease in his place of business in the N.W. district and had conveyed it to the S.W. district, distributing it in the neighbourhood in which he lived. This is only theory, and the only thing the medical man has to rely on to prove his case is, that the man first taken was engaged three-fourths of each day where small-pox was prevalent. Against this theory, assume that the disease originated by the whole of these persons inhaling poisons from putrid matter in their own locality or at their own doors, or in their homes, but that the atmospheric influences to develop the poison was a few days longer completing its work in the S.W. district than in the north. Then test the sanitary conditions of both localities, and you will find similar matter producing poisons. These are facts that will support this view of the case, as well as the following evidence which cannot be contradicted. 66When sewage matter is allowed to remain in bulk undisturbed, and in connection with a system of sewers, it forms retorts for the generation of these poisons, and they are conveyed for miles in drains by atmospheric and other influences; and where these people lived the gases would probably be discharged with a greater facility than at any other point.

Take another case. A man leaves London for the country, and a day or two after his arrival he is taken ill with small-pox. There is no system of drains to the house in which he is located. People living in this and other houses are affected with the disease, and the medical officer of health in his report states that the disease was conveyed from London to the district by this man. He was certainly the first one affected, and at first sight this case appears to be conclusive in favour of contagion, for if he did not contract the disease in London and bring it into the country how was it that he was first affected?

It is certain that putrid matter from which the poisons are derived exists in villages similar to that in towns, consequently the poisons are there, and medical men agree that when a person leaves one locality for another, for what is commonly called a change of air, the system undergoes a change. This change had such an effect on the system of this 67man that the poison from the putrid matter of the village had a greater effect on him and poisoned the blood more quickly, than on those who were inhaling the poison during its various stages of development: but when it was fully developed by atmospheric influences the disease appeared in those other persons who were in contact with the poison.

The action of sewer poison on the system is similar to that experienced by persons taking cold. Persons occupied in rooms which have an equal temperature, or are not subjected to cold chilly winds, take colds and contract all sorts of complaints on being exposed to currents of cold air even for a short time. The draught from a window only, when a cold stream of air is playing upon it, will do this: the blood is chilled, hence the cold, fever, or one of the many complaints follow; but on persons used to exposure it has no effect. In the same way sewer poisons act on those who suddenly inhale them, only the blood becomes poisoned instead of chilled; but on those who are in constant contact with them they have not such an effect, yet on these persons the effect of them can be traced.

The medical profession have hitherto placed too much reliance on isolation as the sole means of stamping out this disease.

The Metropolitan Asylums Board have had ample means at their disposal since 1867 to test the soundness 68of this theory, yet after spending something like 480,000l. per annum, small-pox has increased 100 per cent. since that date! This fact alone is sufficient evidence to prove that other means than those of isolation must be used to effectually stamp out this disease.

It is of little use to have elaborate arrangements in hospitals and camps to minimise the effects on persons who have taken the disease, and at the same time allow the source from which it emanates to remain undisturbed. I admit that it is a question too complicated to be exhaustively dealt with in a work on the testing of drains and sanitary fittings, but it is inserted to show what a power those who are engaged in designing or executing sanitary works hold for good or evil in affecting the health of the community.

Experience proves that ninety-nine zymotic cases out of every hundred are caused through imperfect sanitary works and appliances.

LONDON: PRINTED BY WILLIAM CLOWES AND SONS, LIMITED, STAMFORD STREET AND CHARING CROSS.
69
BOOKS RELATING
TO
APPLIED SCIENCE
PUBLISHED BY
E. & F. N. SPON,
LONDON: 125, STRAND.
NEW YORK: 35, MURRAY STREET.

A Pocket-Book for Chemists, Chemical Manufacturers, Metallurgists, Dyers, Distillers, Brewers, Sugar Refiners, Photographers, Students, etc., etc. By Thomas Bayley, Assoc. R.C. Sc. Ireland, Analytical and Consulting Chemist and Assayer. Third edition, with additions, 437 pp., royal 32mo, roan, gilt edges, 5s.

Synopsis of Contents:

Atomic Weights and Factors—Useful Data—Chemical Calculations—Rules for Indirect Analysis—Weights and Measures—Thermometers and Barometers—Chemical Physics—Boiling Points, etc.—Solubility of Substances—Methods of Obtaining Specific Gravity—Conversion of Hydrometers—Strength of Solutions by Specific Gravity—Analysis—Gas Analysis—Water Analysis—Qualitative Analysis and Reactions—Volumetric Analysis—Manipulation—Mineralogy—Assaying—Alcohol—Beer—Sugar—Miscellaneous Technological matter relating to Potash, Soda, Sulphuric Acid, Chlorine, Tar Products, Petroleum, Milk, Tallow, Photography, Prices, Wages, Appendix, etc., etc.

The Mechanician: A Treatise on the Construction and Manipulation of Tools, for the use and instruction of Young Engineers and Scientific Amateurs, comprising the Arts of Blacksmithing and Forging; the Construction and Manufacture of Hand Tools, and the various Methods of Using and Grinding them; the Construction of Machine Tools, and how to work them; Machine Fitting and Erection; description of Hand and Machine Processes; Turning and Screw Cutting; principles of Constructing and details of Making and Erecting Steam Engines, and the various details of setting out work, etc., etc. By Cameron Knight, Engineer. Containing 1147 illustrations, and 397 pages of letter-press. Third edition, 4to, cloth, 18s.

70On Designing Belt Gearing. By E. J. Cowling Welch, Mem. Inst. Mech. Engineers, Author of ‘Designing Valve Gearing.’ Fcap. 8vo, sewed, 6d.

A Handbook of Formulæ, Tables, and Memoranda, for Architectural Surveyors and others engaged in Building. By J. T. Hurst, C.E. Thirteenth edition, royal 32mo, roan, 5s.

“It is no disparagement to the many excellent publications we refer to, to say that in our opinion this little pocket-book of Hurst’s is the very best of them all, without any exception. It would be useless to attempt a recapitulation of the contents, for it appears to contain almost everything that anyone connected with building could require, and, best of all, made up in a compact form for carrying in the pocket, measuring only 5 in. by 3 in., and about ¾ in. thick, in a limp cover. We congratulate the author on the success of his laborious and practically compiled little book, which has received unqualified and deserved praise from every professional person to whom we have shown it.”—The Dublin Builder.

Tabulated Weights of Angle, Tee, Bulb, Round, Square, and Flat Iron and Steel, and other information for the use of Naval Architects and Shipbuilders. By C. H. Jordan, M.I.N.A. Fourth edition, 32mo, cloth, 2s. 6d.

Quantity Surveying. By J. Leaning. With 42 illustrations, crown 8vo, cloth, 9s.

Contents:

A Practical Treatise on Heat, as applied to the Useful Arts; for the Use of Engineers, Architects, &c. By Thomas Box. With 14 plates. Third edition, crown 8vo, cloth, 12s. 6d.

A Descriptive Treatise on Mathematical Drawing Instruments: their construction, uses, qualities, selection, preservation, and suggestions for improvements, with hints upon Drawing and Colouring. By W. F. Stanley, M.R.I. Fifth edition, with numerous illustrations, crown 8vo, cloth, 5s.

71Spons’ Architects’ and Builders’ Pocket-Book of Prices and Memoranda. Edited by W. Young, Architect. Royal 32mo, roan, 4s. 6d.; or cloth, red edges, 3s. 6d. Published annually. Eleventh edition. Now ready.

Long-Span Railway Bridges, comprising Investigations of the Comparative Theoretical and Practical Advantages of the various adopted or proposed Type Systems of Construction, with numerous Formulæ and Tables giving the weight of Iron or Steel required in Bridges from 300 feet to the limiting Spans; to which are added similar Investigations and Tables relating to Short-span Railway Bridges. Second and revised edition. By B. Baker, Assoc. Inst. C.E. Plates, crown 8vo, cloth, 5s.

Elementary Theory and Calculation of Iron Bridges and Roofs. By August Ritter, Ph.D., Professor at the Polytechnic School at Aix-la-Chapelle. Translated from the third German edition, by H. R. Sankey, Capt. R.E. With 500 illustrations, 8vo, cloth, 15s.

The Builders Clerk: a Guide to the Management of a Builder’s Business. By Thomas Bales. Fcap. 8vo, cloth, 1s. 6d.

The Elementary Principles of Carpentry. By Thomas Tredgold. Revised from the original edition, and partly rewritten, by John Thomas Hurst. Contained in 517 pages of letter-press, and illustrated with 48 plates and 150 wood engravings. Third edition, crown 8vo, cloth, 18s.

Section I. On the Equality and Distribution of Forces—Section II. Resistance of Timber—Section III. Construction of Floors—Section IV. Construction of Roofs—Section V. Construction of Domes and Cupolas—Section VI. Construction of Partitions—Section VII. Scaffolds, Staging, and Gantries—Section VIII. Construction of Centres for Bridges—Section IX. Coffer-dams, Shoring, and Strutting—Section X. Wooden Bridges and Viaducts—Section XI. Joints, Straps, and other Fastenings—Section XII. Timber.

Our Factories, Workshops, and Warehouses: their Sanitary and Fire-Resisting Arrangements. By B. H. Thwaite, Assoc. Mem. Inst. C.E. With 183 wood engravings, crown 8vo, cloth, 9s.

Gold: Its Occurrence and Extraction, embracing the Geographical and Geological Distribution and the Mineralogical Characters of Gold-bearing rocks; the peculiar features and modes of working Shallow Placers, Rivers, and Deep Leads; Hydraulicking; the Reduction and Separation of Auriferous Quartz; the treatment of complex Auriferous ores containing other metals; a Bibliography of the subject and a Glossary of Technical and Foreign Terms. By Alfred G. Lock, F.R.G.S. With numerous illustrations and maps, 1250 pp., super-royal 8vo, cloth, 2l. 12s. 6d.

72A Practical Treatise on Coal Mining. By George G. André, F.G.S., Assoc. Inst. C.E., Member of the Society of Engineers. With 82 lithographic plates. 2 vols., royal 4to, cloth, 3l. 12s.

Iron Roofs: Examples of Design, Description. Illustrated with 64 Working Drawings of Executed Roofs. By Arthur T. Walmisley, Assoc. Mem. Inst. C.E. Imp. 4to, half-morocco, £2 12s. 6d.

A History of Electric Telegraphy, to the Year 1837. Chiefly compiled from Original Sources, and hitherto Unpublished Documents, by J. J. Fahie, Mem. Soc. of Tel. Engineers, and of the International Society of Electricians, Paris. Crown 8vo, cloth, 9s.

Spons’ Information for Colonial Engineers. Edited by J. T. Hurst. Demy 8vo, sewed.

No. 1, Ceylon. By Abraham Deane, C.E. 2s. 6d.

Contents:

Introductory Remarks—Natural Productions—Architecture and Engineering—Topography, Trade, and Natural History—Principal Stations—Weights and Measures, etc., etc.

No. 2. Southern Africa, including the Cape Colony, Natal, and the Dutch Republics. By Henry Hall, F.R.G.S., F.R.C.I. With Map. 3s. 6d.

Contents:

General Description of South Africa—Physical Geography with reference to Engineering Operations—Notes on Labour and Material in Cape Colony—Geological Notes on Rock Formation in South Africa—Engineering Instruments for Use in South Africa—Principal Public Works in Cape Colony: Railways, Mountain Roads and Passes, Harbour Works, Bridges, Gas Works, Irrigation and Water Supply, Lighthouses, Drainage and Sanitary Engineering, Public Buildings, Mines—Table of Woods in South Africa—Animals used for Draught Purposes—Statistical Notes—Table of Distances—Rates of Carriage, etc.

No. 3. India. By F. C. Danvers, Assoc. Inst. C.E. With Map. 4s. 6d.

Contents:

Physical Geography of India—Building Materials—Roads—Railways—Bridges—Irrigation—River Works—Harbours—Lighthouse Buildings—Native Labour—The Principal Trees of India—Money—Weights and Measures—Glossary of Indian Terms, etc.

A Practical Treatise on Casting and Founding, including descriptions of the modern machinery employed in the art. By N. E. Spretson, Engineer. Third edition, with 82 plates drawn to scale, 412 pp., demy 8vo, cloth, 18s.

Steam Heating for Buildings; or, Hints to Steam Fitters, being a description of Steam Heating Apparatus for Warming and Ventilating Private Houses and Large Buildings, with remarks on Steam, Water, and Air in their relation to Heating. By W. J. Baldwin. With many illustrations. Fourth edition, crown 8vo, cloth, 10s. 6d.

73The Depreciation of Factories and their Valuation. By Ewing Matheson, M. Inst. C.E. 8vo, cloth, 6s.

A Handbook of Electrical Testing. By H. R. Kempe, M.S.T.E. Third edition, revised and enlarged, crown 8vo, cloth, 15s.

Gas Works: their Arrangement, Construction, Plant, and Machinery. By F. Colyer, M. Inst. C.E. With 31 folding plates, 8vo, cloth, 24s.

The Clerk of Works: a Vade-Mecum for all engaged in the Superintendence of Building Operations. By G. G. Hoskins, F.R.I.B.A. Third edition, fcap. 8vo, cloth, 1s. 6d.

American Foundry Practice: Treating of Loam, Dry Sand, and Green Sand Moulding, and containing a Practical Treatise upon the Management of Cupolas, and the Melting of Iron. By T. D. West, Practical Iron Moulder and Foundry Foreman. Second edition, with numerous illustrations, crown 8vo, cloth, 10s. 6d.

The Maintenance of Macadamised Roads. By T. Codrington, M.I.C.E, F.G.S., General Superintendent of County Roads for South Wales. 8vo, cloth, 6s.

Hydraulic Steam and Hand Power Lifting and Pressing Machinery. By Frederick Colyer, M. Inst. C.E., M. Inst. M.E. With 73 plates, 8vo, cloth, 18s.

Pumps and Pumping Machinery. By F. Colyer, M.I.C.E., M.I.M.E. With 23 folding plates, 8vo, cloth, 12s. 6d.

The Municipal and Sanitary Engineer’s Handbook. By H. Percy Boulnois, Mem. Inst. C.E., Borough Engineer, Portsmouth. With numerous illustrations, demy 8vo, cloth, 12s. 6d.

Contents:

The Appointment and Duties of the Town Surveyor—Traffic—Macadamised Roadways—Steam Rolling—Road Metal and Breaking—Pitched Pavements—Asphalte—Wood Pavements—Footpaths—Kerbs and Gutters—Street Naming and Numbering—Street Lighting—Sewerage—Ventilation of Sewers—Disposal of Sewage—House Drainage—Disinfection—Gas and Water Companies, &c., Breaking up Streets—Improvement of Private Streets—Borrowing Powers—Artizans’ and Labourers’ Dwellings—Public Conveniences—Scavenging, including Street Cleansing—Watering and the Removing of Snow—Planting Street Trees—Deposit of Plans—Dangerous Buildings—Hoardings—Obstructions—Improving Street Lines—Cellar Openings—Public Pleasure Grounds—Cemeteries—Mortuaries—Cattle and Ordinary Markets—Public Slaughter-houses, etc.—Giving numerous Forms of Notices, Specifications, and General Information upon these and other subjects of great importance to Municipal Engineers and others engaged in Sanitary Work.

74Tables of the Principal Speeds occurring in Mechanical Engineering, expressed in metres in a second. By P. Keerayeff, Chief Mechanic of the Obouchoff Steel Works, St. Petersburg; translated by Sergius Kern, M.E. Fcap. 8vo, sewed, 6d.

A Treatise on the Origin, Progress, Prevention, and Cure of Dry Rot in Timber; with Remarks on the Means of Preserving Wood from Destruction by Sea-Worms, Beetles, Ants, etc. By Thomas Allen Britton, late Surveyor to the Metropolitan Board of Works, etc., etc. With 10 plates, crown 8vo, cloth, 7s. 6d.

Metrical Tables. By G. L. Molesworth, M.I.C.E. 32mo, cloth, 1s. 6d.

Contents:

General—Linear Measures—Square Measures—Cubic Measures—Measures of Capacity—Weights—Combinations—Thermometers.

Elements of Construction for Electro-Magnets. By Count Th. Du Moncel, Mem. de l’Institut de France. Translated from the French by C. J. Wharton. Crown 8vo, cloth, 4s. 6d.

Electro-Telegraphy. By Frederick S. Beechey, Telegraph Engineer. A Book for Beginners. Illustrated. Fcap. 8vo, sewed, 6d.

Handrailing: by the Square Cut. By John Jones, Staircase Builder. Fourth edition, with seven plates, 8vo, cloth, 3s. 6d.

Handrailing: by the Square Cut. By John Jones, Staircase Builder. Part Second, with eight plates, 8vo, cloth, 3s. 6d.

Practical Electrical Units Popularly Explained, with numerous illustrations and Remarks. By James Swinburne, late of J. W. Swan and Co., Paris, late of Brush-Swan Electric Light Company, U.S.A. 18mo, cloth, 1s. 6d.

Philipp Reis, Inventor of the Telephone: A Biographical Sketch. With Documentary Testimony, Translations of the Original Papers of the Inventor, &c. By Silvanus P. Thompson, B.A., Dr. Sc., Professor of Experimental Physics in University College, Bristol. With illustrations, 8vo, cloth, 7s. 6d.

A Treatise on the Use of Belting for the Transmission of Power. By J. H. Cooper. Second edition, illustrated, 8vo, cloth, 15s.

75A Pocket-Book of Useful Formulæ and Memoranda for Civil and Mechanical Engineers. By Guilford L. Molesworth, Mem. Inst. C.E., Consulting Engineer to the Government of India for State Railways. With numerous illustrations, 744 pp., Twenty-first edition, revised and enlarged, 32mo, roan, 6s.

Synopsis of Contents:

Surveying, Levelling, etc.—Strength and Weight of Materials—Earthwork, Brickwork, Masonry, Arches, etc.—Struts, Columns, Beams, and Trusses—Flooring, Roofing, and Roof Trusses—Girders, Bridges, etc.—Railways and Roads—Hydraulic Formulæ—Canals, Sewers, Waterworks, Docks—Irrigation and Breakwaters—Gas, Ventilation, and Warming—Heat, Light, Colour, and Sound—Gravity: Centres, Forces, and Powers—Millwork, Teeth of Wheels, Shafting, etc.—Workshop Recipes—Sundry Machinery—Animal Power—Steam and the Steam Engine—Water-power, Water-wheels, Turbines, etc.—Wind and Windmills—Steam Navigation, Ship Building, Tonnage, etc.—Gunnery, Projectiles, etc.—Weights, Measures, and Money—Trigonometry, Conic Sections, and Curves—Telegraphy—Mensuration—Tables of Areas and Circumference, and Arcs of Circles—Logarithms, Square and Cube Roots, Powers—Reciprocals, etc.—Useful Numbers—Differential and Integral Calculus—Algebraic Signs—Telegraphic Construction and Formulæ.

Spons’ Tables and Memoranda for Engineers; selected and arranged by J. T. Hurst, C.E., Author of ‘Architectural Surveyors’ Handbook,’ ‘Hurst’s Tredgold’s Carpentry,’ etc. Fifth edition, 64mo, roan, gilt edges, 1s.; or in cloth case, 1s. 6d.

This work is printed in a pearl type, and is so small, measuring only 2½ in. by 1¾ in. by ¼ in. thick, that it may be easily carried in the waistcoat pocket.

“It is certainly an extremely rare thing for a reviewer to be called upon to notice a volume measuring but 2½ in. by 1¾ in., yet these dimensions faithfully represent the size of the handy little book before us. The volume—which contains 118 printed pages, besides a few blank pages for memoranda—is, in fact, a true pocket-book, adapted for being carried in the waistcoat pocket, and containing a far greater amount and variety of information than most people would imagine could be compressed into so small a space.... The little volume has been compiled with considerable care and judgment, and we can cordially recommend it to our readers as a useful little pocket companion.”—Engineering.

A Practical Treatise on Natural and Artificial Concrete, its Varieties and Constructive Adaptations. By Henry Reid, Author of the ‘Science and Art of the Manufacture of Portland Cement.’ New Edition, with 59 woodcuts and 5 plates, 8vo, cloth, 15s.

Hydrodynamics: Treatise relative to the Testing of Water-Wheels and Machinery, with various other matters pertaining to Hydrodynamics. By James Emerson. With numerous illustrations, 360 pp. Third edition, crown 8vo, cloth, 4s. 6d.

Electricity as a Motive Power. By Count Th. Du Moncel, Membre de l’Institut de France, and Frank Geraldy, Ingénieur des Ponts et Chaussées. Translated and Edited, with Additions, by C. J. Wharton, Assoc. Soc. Tel. Eng. and Elec. With 113 engravings and diagrams, crown 8vo, cloth, 7s. 6d.

Hints on Architectural Draughtsmanship. By G. W. Tuxford Hallatt. Fcap. 8vo, cloth, 1s. 6d.

76Treatise on Valve-Gears, with special consideration of the Link-Motions of Locomotive Engines. By Dr. Gustav Zeuner, Professor of Applied Mechanics at the Confederated Polytechnikum of Zurich. Translated from the Fourth German Edition, by Professor J. F. Klein, Lehigh University, Bethlehem, Pa. Illustrated, 8vo, cloth, 12s. 6d.

The French-Polisher’s Manual. By a French-Polisher; containing Timber Staining, Washing, Matching, Improving, Painting, Imitations, Directions for Staining, Sizing, Embodying, Smoothing, Spirit Varnishing, French-Polishing, Directions for Repolishing. Third edition, royal 32mo, sewed, 6d.

Hops, their Cultivation, Commerce, and Uses in various Countries. By P. L. Simmonds. Crown 8vo, cloth, 4s. 6d.

A Practical Treatise on the Manufacture and Distribution of Coal Gas. By William Richards. Demy 4to, with numerous wood engravings and 29 plates, cloth, 28s.

Synopsis of Contents:

Introduction—History of Gas Lighting—Chemistry of Gas Manufacture, by Lewis Thompson, Esq., M.R.C.S.—Coal, with Analyses, by J. Paterson, Lewis Thompson, and G. R. Hislop, Esqrs.—Retorts, Iron and Clay—Retort Setting—Hydraulic Main—Condensers—Exhausters—Washers and Scrubbers—Purifiers—Purification—History of Gas Holder—Tanks, Brick and Stone, Composite, Concrete, Cast-iron, Compound Annular Wrought-iron—Specifications—Gas Holders—Station Meter—Governor—Distribution—Mains—Gas Mathematics, or Formulæ for the Distribution of Gas, by Lewis Thompson, Esq.—Services—Consumers’ Meters—Regulators—Burners—Fittings—Photometer—Carburization of Gas—Air Gas and Water Gas—Composition of Coal Gas, by Lewis Thompson, Esq.—Analyses of Gas—Influence of Atmospheric Pressure and Temperature on Gas—Residual Products—Appendix—Description of Retort Settings, Buildings, etc., etc.

Practical Geometry, Perspective, and Engineering Drawing; a Course of Descriptive Geometry adapted to the Requirements of the Engineering Draughtsman, including the determination of cast shadows and Isometric Projection, each chapter being followed by numerous examples; to which are added rules for Shading, Shade-lining, etc., together with practical instructions as to the Lining, Colouring, Printing, and general treatment of Engineering Drawings, with a chapter on drawing Instruments. By George S. Clarke, Capt. R.E. Second edition, with 21 plates. 2 vols., cloth, 10s. 6d.

The Elements of Graphic Statics. By Professor Karl Von Ott, translated from the German by G. S. Clarke, Capt. R.E., Instructor in Mechanical Drawing, Royal Indian Engineering College. With 93 illustrations, crown 8vo, cloth, 5s.

The Principles of Graphic Statics. By George Sydenham Clarke, Capt. Royal Engineers. With 112 illustrations. 4to, cloth, 12s. 6d.

Dynamo-Electric Machinery: A Manual for Students of Electro-technics. By Silvanus P. Thompson, B.A., D.Sc., Professor of Experimental Physics in University College, Bristol, etc., etc. Illustrated, 8vo, cloth, 12s. 6d.

77The New Formula for Mean Velocity of Discharge of Rivers and Canals. By W. R. Kutter. Translated from articles in the ‘Cultur-Ingénieur,’ by Lowis D’A. Jackson, Assoc. Inst. C.E. 8vo, cloth, 12s. 6d.

Practical Hydraulics; a Series of Rules and Tables for the use of Engineers, etc., etc. By Thomas Box. Fifth edition, numerous plates, post 8vo, cloth, 5s.

A Practical Treatise on the Construction of Horizontal and Vertical Waterwheels, specially designed for the use of operative mechanics. By William Cullen, Millwright and Engineer. With 11 plates. Second edition, revised and enlarged, small 4to, cloth, 12s. 6d.

Tin: Describing the Chief Methods of Mining, Dressing and Smelting it abroad; with Notes upon Arsenic, Bismuth and Wolfram. By Arthur G. Charleton, Mem. American Inst. of Mining Engineers. With plates, 8vo, cloth, 12s. 6d.

Perspective, Explained and Illustrated. By G. S. Clarke, Capt. R.E. With illustrations, 8vo, cloth, 3s. 6d.

The Essential Elements of Practical Mechanics; based on the Principle of Work, designed for Engineering Students. By Oliver Byrne, formerly Professor of Mathematics, College for Civil Engineers. Third edition, with 148 wood engravings, post 8vo, cloth, 7s. 6d.

Contents:

Chap. 1. How Work is Measured by a Unit, both with and without reference to a Unit of Time—Chap. 2. The Work of Living Agents, the Influence of Friction, and introduces one of the most beautiful Laws of Motion—Chap. 3. The principles expounded in the first and second chapters are applied to the Motion of Bodies—Chap. 4. The Transmission of Work by simple Machines—Chap. 5. Useful Propositions and Rules.

The Practical Millwright and Engineer’s Ready Reckoner; or Tables for finding the diameter and power of cog-wheels, diameter, weight, and power of shafts, diameter and strength of bolts, etc. By Thomas Dixon. Fourth edition, 12mo, cloth, 3s.

Breweries and Maltings: their Arrangement, Construction, Machinery, and Plant. By G. Scamell, F.R.I.B.A. Second edition, revised, enlarged, and partly rewritten. By F. Colyer, M.I.C.E., M.I.M.E. With 20 plates, 8vo, cloth, 18s.

A Practical Treatise on the Manufacture of Starch, Glucose, Starch-Sugar, and Dextrine, based on the German of L. Von Wagner, Professor in the Royal Technical School, Buda Pesth, and other authorities. By Julius Frankel; edited by Robert Hutter, proprietor of the Philadelphia Starch Works. With 58 illustrations, 344 pp., 8vo, cloth, 18s.

78A Practical Treatise on Mill-gearing, Wheels, Shafts, Riggers, etc.; for the use of Engineers. By Thomas Box. Third edition, with 11 plates. Crown 8vo, cloth, 7s. 6d.

Mining Machinery: a Descriptive Treatise on the Machinery, Tools, and other Appliances used in Mining. By G. G. André, F.G.S., Assoc. Inst. C.E., Mem. of the Society of Engineers. Royal 4to, uniform with the Author’s Treatise on Coal Mining, containing 182 plates, accurately drawn to scale, with descriptive text, in 2 vols., cloth, 3l. 12s.

Contents:

Machinery for Prospecting, Excavating, Hauling, and Hoisting—Ventilation—Pumping—Treatment of Mineral Products, including Gold and Silver, Copper, Tin, and Lead, Iron, Coal, Sulphur, China Clay, Brick Earth, etc.

Tables for Setting out Curves for Railways, Canals, Roads, etc., varying from a radius of five chains to three miles. By A. Kennedy and R. W. Hackwood. Illustrated, 32mo, cloth, 2s. 6d.

The Science and Art of the Manufacture of Portland Cement, with observations on some of its constructive applications. With 66 illustrations. By Henry Reid, C.E., Author of ‘A Practical Treatise on Concrete,’ etc., etc. 8vo, cloth, 18s.

The Draughtsman’s Handbook of Plan and Map Drawing; including instructions for the preparation of Engineering, Architectural, and Mechanical Drawings. With numerous illustrations in the text, and 33 plates (15 printed in colours). By G. G. André, F.G.S., Assoc. Inst. C.E. 4to, cloth, 9s.

Contents:

The Drawing Office and its Furnishings—Geometrical Problems—Lines, Dots, and their Combinations—Colours, Shading, Lettering, Bordering, and North Points—Scales—Plotting—Civil Engineers’ and Surveyors’ Plans—Map Drawing—Mechanical and Architectural Drawing—Copying and Reducing Trigonometrical Formulæ, etc., etc.

The Boiler-maker’s and Iron Ship-builder’s Companion, comprising a series of original and carefully calculated tables, of the utmost utility to persons interested in the iron trades. By James Foden, author of ‘Mechanical Tables,’ etc. Second edition revised, with illustrations, crown 8vo, cloth, 5s.

Rock Blasting: a Practical Treatise on the means employed in Blasting Rocks for Industrial Purposes. By G. G. André, F.G.S., Assoc. Inst. C.E. With 56 illustrations and 12 plates, 8vo, cloth, 10s. 6d.

Painting and Painters’ Manual: a Book of Facts for Painters and those who Use or Deal in Paint Materials. By C. L. Condit and J. Scheller. Illustrated, 8vo, cloth, 10s. 6d.

79A Treatise on Ropemaking as practised in public and private Rope-yards, with a Description of the Manufacture, Rules, Tables of Weights, etc., adapted to the Trade, Shipping, Mining, Railways, Builders, etc. By R. Chapman, formerly foreman to Messrs. Huddart and Co., Limehouse, and late Master Ropemaker to H.M. Dockyard, Deptford. Second edition, 12mo, cloth, 3s.

Laxton’s Builders’ and Contractors Tables; for the use of Engineers, Architects, Surveyors, Builders, Land Agents, and others. Bricklayer, containing 22 tables, with nearly 30,000 calculations. 4to, cloth, 5s.

Laxton’s Builders’ and Contractors’ Tables. Excavator, Earth, Land, Water, and Gas, containing 53 tables, with nearly 24,000 calculations. 4to, cloth, 5s.

Sanitary Engineering: a Guide to the Construction of Works of Sewerage and House Drainage, with Tables for facilitating the calculations of the Engineer. By Baldwin Latham, C.E., M. Inst. C.E., F.G.S., F.M.S., Past-President of the Society of Engineers. Second edition, with numerous plates and woodcuts, 8vo, cloth, 1l. 10s.

Screw Cutting Tables for Engineers and Machinists, giving the values of the different trains of Wheels required to produce Screws of any pitch, calculated by Lord Lindsay, M.P., F.R.S., F.R.A.S., etc. Cloth, oblong, 2s.

Screw Cutting Tables, for the use of Mechanical Engineers, showing the proper arrangement of Wheels for cutting the Threads of Screws of any required pitch, with a Table for making the Universal Gas-pipe Threads and Taps. By W. A. Martin, Engineer. Second edition, oblong, cloth, 1s., or sewed, 6d.

A Treatise on a Practical Method of Designing Slide-Valve Gears by Simple Geometrical Construction, based upon the principles enunciated in Euclid’s Elements, and comprising the various forms of Plain Slide-Valve and Expansion Gearing; together with Stephenson’s, Gooch’s, and Allan’s Link-Motions, as applied either to reversing or to variable expansion combinations. By Edward J. Cowling Welch. Memb. Inst. Mechanical Engineers. Crown 8vo, cloth, 6s.

Cleaning and Scouring: a Manual for Dyers, Laundresses, and for Domestic Use. By S. Christopher. 18mo, sewed, 6d.

A Handbook of House Sanitation; for the use of all persons seeking a Healthy Home. A reprint of those portions of Mr. Bailey-Denton’s Lectures on Sanitary Engineering, given before the School of Military Engineering, which related to the “Dwelling,” enlarged and revised by his Son, E. F. Bailey-Denton, C.E., B.A. With 140 illustrations, 8vo, cloth, 8s. 6d.

80A Glossary of Terms used in Coal Mining. By William Stukeley Gresley, Assoc. Mem. Inst. C.E., F.G.S., Member of the North of England Institute of Mining Engineers. Illustrated with numerous woodcuts and diagrams, crown 8vo, cloth, 5s.

A Pocket-Book for Boiler Makers and Steam Users, comprising a variety of useful information for Employer and Workman, Government Inspectors, Board of Trade Surveyors, Engineers in charge of Works and Slips, Foremen of Manufactories, and the general Steam-using Public. By Maurice John Sexton. Second edition, royal 32mo, roan, gilt edges, 5s.

The Strains upon Bridge Girders and Roof Trusses, including the Warren, Lattice, Trellis, Bowstring, and other Forms of Girders, the Curved Roof, and Simple and Compound Trusses. By Thos. Cargill, C.E.B.A.T., C.D., Assoc. Inst. C.E., Member of the Society of Engineers. With 64 illustrations, drawn and worked out to scale, 8vo, cloth, 12s. 6d.

A Practical Treatise on the Steam Engine, containing Plans and Arrangements of Details for Fixed Steam Engines, with Essays on the Principles involved in Design and Construction. By Arthur Rigg, Engineer, Member of the Society of Engineers and of the Royal Institution of Great Britain. Demy 4to, copiously illustrated with woodcuts and 96 plates, in one Volume, half-bound morocco, 2l. 2s.; or cheaper edition, cloth, 25s.

This work is not, in any sense, an elementary treatise, or history of the steam engine, but is intended to describe examples of Fixed Steam Engines without entering into the wide domain of locomotive or marine practice. To this end illustrations will be given of the most recent arrangements of Horizontal, Vertical, Beam, Pumping, Winding, Portable, Semi-portable, Corliss, Allen, Compound, and other similar Engines, by the most eminent Firms in Great Britain and America. The laws relating to the action and precautions to be observed in the construction of the various details, such as Cylinders, Pistons, Piston-rods, Connecting-rods, Cross-heads, Motion-blocks, Eccentrics, Simple, Expansion, Balanced, and Equilibrium Slide-valves, and Valve-gearing will be minutely dealt with. In this connection will be found articles upon the Velocity of Reciprocating Parts and the Mode of Applying the Indicator, Heat and Expansion of Steam Governors, and the like. It is the writer’s desire to draw illustrations from every possible source, and give only those rules that present practice deems correct.

Barlow’s Tables of Squares, Cubes, Square Roots, Cube Roots, Reciprocals of all Integer Numbers up to 10,000. Post 8vo, cloth, 6s.

Camus (M.) Treatise on the Teeth of Wheels, demonstrating the best forms which can be given to them for the purposes of Machinery, such as Mill-work and Clock-work, and the art of finding their numbers. Translated from the French, with details of the present practice of Millwrights, Engine Makers, and other Machinists, by Isaac Hawkins. Third edition, with 18 plates, 8vo, cloth, 5s.

81A Practical Treatise on the Science of Land and Engineering Surveying, Levelling, Estimating Quantities, etc., with a general description of the several Instruments required for Surveying, Levelling, Plotting, etc. By H. S. Merrett. Third edition, 41 plates with illustrations and tables, royal 8vo, cloth, 12s. 6d.

Principal Contents:

Part 1. Introduction and the Principles of Geometry. Part 2. Land Surveying; comprising General Observations—The Chain—Offsets Surveying by the Chain only—Surveying Hilly Ground—To Survey an Estate or Parish by the Chain only—Surveying with the Theodolite—Mining and Town Surveying—Railroad Surveying—Mapping—Division and Laying out of Land—Observations on Enclosures—Plane Trigonometry. Part 3. Levelling—Simple and Compound Levelling—The Level Book—Parliamentary Plan and Section—Levelling with a Theodolite—Gradients—Wooden Curves—To Lay out a Railway Curve—Setting out Widths. Part 4. Calculating Quantities generally for Estimates—Cuttings and Embankments—Tunnels—Brickwork—Ironwork—Timber Measuring. Part 5. Description and Use of Instruments in Surveying and Plotting—The Improved Dumpy Level—Troughton’s Level—The Prismatic Compass—Proportional Compass—Box Sextant—Vernier—Pantagraph—Merrett’s Improved Quadrant—Improved Computation Scale—The Diagonal Scale—Straight Edge and Sector. Part 6. Logarithms of Numbers—Logarithmic Sines and Co-Sines, Tangents and Co-Tangents—Natural Sines and Co-Sines—Tables for Earthwork, for Setting out Curves, and for various Calculations, etc., etc., etc.

Saws: the History, Development, Action, Classification, and Comparison of Saws of all kinds. By Robert Grimshaw. With 220 illustrations, 4to, cloth, 12s. 6d.

A Supplement to the above; containing additional practical matter, more especially relating to the forms of Saw Teeth for special material and conditions, and to the behaviour of Saws under particular conditions. With 120 illustrations, cloth, 9s.

A Guide for the Electric Testing of Telegraph Cables. By Capt. V. Hoskiœr, Royal Danish Engineers. With illustrations, second edition, crown 8vo, cloth, 4s. 6d.

Laying and Repairing Electric Telegraph Cables. By Capt. V. Hoskiœr, Royal Danish Engineers. Crown 8vo, cloth, 3s. 6d.

A Pocket-Book of Practical Rules for the Proportions of Modern Engines and Boilers for Land and Marine purposes. By N. P. Burgh. Seventh edition, royal 32mo, roan, 4s. 6d.

The Assayer’s Manual: an Abridged Treatise on the Docimastic Examination of Ores and Furnace and other Artificial Products. By Bruno Kerl. Translated by W. T. Brannt. With 65 illustrations, 8vo, cloth, 12s. 6d.

The Steam Engine considered as a Heat Engine: a Treatise on the Theory of the Steam Engine, illustrated by Diagrams, Tables, and Examples from Practice. By Jas. H. Cotterill, M.A., F.R.S., Professor of Applied Mechanics in the Royal Naval College. 8vo, cloth, 12s. 6d.

82Electricity: its Theory, Sources, and Applications. By J. T. Sprague, M.S.T.E. Second edition, revised and enlarged, with numerous illustrations, crown 8vo, cloth, 15s.

The Practice of Hand Turning in Wood, Ivory, Shell, etc., with Instructions for Turning such Work in Metal as may be required in the Practice of Turning in Wood, Ivory, etc.; also an Appendix on Ornamental Turning. (A book for beginners.) By Francis Campin. Third edition, with wood engravings, crown 8vo, cloth, 6s.

Contents:

On Lathes—Turning Tools—Turning Wood—Drilling—Screw Cutting—Miscellaneous Apparatus and Processes—Turning Particular Forms—Staining—Polishing—Spinning Metals—Materials—Ornamental Turning, etc.

Health and Comfort in House Building, or Ventilation with Warm Air by Self-Acting Suction Power, with Review of the mode of Calculating the Draught in Hot-Air Flues, and with some actual Experiments. By J. Drysdale, M.D., and J. W. Hayward, M.D. Second edition, with Supplement, with plates, demy 8vo, cloth, 7s. 6d.

Treatise on Watchwork, Past and Present. By the Rev. H. L. Nelthropp, M.A., F.S.A. With 32 illustrations, crown 8vo, cloth, 6s. 6d.

Contents:

Definitions of Words and Terms used in Watchwork—Tools—Time—Historical Summary—On Calculations of the Numbers for Wheels and Pinions; their Proportional Sizes, Trains, etc.—Of Dial Wheels, or Motion Work—Length of Time of Going without Winding up—The Verge—The Horizontal—The Duplex—The Lever—The Chronometer—Repeating Watches—Keyless Watches—The Pendulum, or Spiral Spring—Compensation—Jewelling of Pivot Holes—Clerkenwell—Fallacies of the Trade—Incapacity of Workmen—How to Choose and Use a Watch, etc.

Notes in Mechanical Engineering. Compiled principally for the use of the Students attending the Classes on this subject at the City of London College. By Henry Adams, Mem. Inst. M.E., Mem. Inst. C.E., Mem. Soc. of Engineers. Crown 8vo, cloth, 2s. 6d.

Algebra Self-Taught. By W. P. Higgs, M.A., D.Sc., LL.D., Assoc. Inst. C.E., Author of ‘A Handbook of the Differential Calculus,’ etc. Second edition, crown 8vo, cloth, 2s. 6d.

Contents:

Symbols and the Signs of Operation—The Equation and the Unknown Quantity—Positive and Negative Quantities—Multiplication—Involution—Exponents—Negative Exponents—Roots, and the Use of Exponents as Logarithms—Logarithms—Tables of Logarithms and Proportionate Parts—Transformation of System of Logarithms—Common Uses of Common Logarithms—Compound Multiplication and the Binomial Theorem—Division, Fractions, and Ratio—Continued Proportion—The Series and the Summation of the Series—Limit of Series—Square and Cube Roots—Equations—List of Formulæ, etc.

Spons’ Dictionary of Engineering, Civil, Mechanical, Military, and Naval; with technical terms in French, German, Italian, and Spanish, 3100 pp., and nearly 8000 engravings, in super-royal 8vo, in 8 divisions, 5l. 8s. Complete in 3 vols., cloth, 5l. 5s. Bound in a superior manner, half-morocco, top edge gilt, 3 vols., 6l. 12s.

83In super-royal 8vo, 1168 pp., with 2400 illustrations, in 3 Divisions, cloth, price 13s. 6d. each; or 1 vol., cloth, 2l.; or half-morocco, 2l. 8s.
A SUPPLEMENT
TO
SPONS’ DICTIONARY OF ENGINEERING.
Edited by ERNEST SPON, Memb. Soc. Engineers.
84NOW COMPLETE.
With nearly 1500 illustrations, in super-royal 8vo, in 5 Divisions, cloth.
Divisions 1 to 4, 13s. 6d. each; Division 5, 17s. 6d.; or 2 vols., cloth, £3 10s.
SPONS’ ENCYCLOPÆDIA
OF THE
INDUSTRIAL ARTS, MANUFACTURES, AND COMMERCIAL PRODUCTS.
Edited by C. G. WARNFORD LOCK, F.L.S.

Among the more important of the subjects treated of, are the following:—

85Crown 8vo, cloth, with illustrations, 5s.
WORKSHOP RECEIPTS,
FIRST SERIES.
By ERNEST SPON.
Synopsis of Contents.

Besides Receipts relating to the lesser Technological matters and processes such as the manufacture and use of Stencil Plates, Blacking, Crayons, Paste Putty, Wax, Size, Alloys, Catgut, Tunbridge Ware, Picture Frame and Architectural Mouldings, Compos, Cameos, and others too numerous to mention.

86Crown 8vo, cloth, 485 pages, with illustrations, 5s.
WORKSHOP RECEIPTS,
SECOND SERIES.
By ROBERT HALDANE.
Synopsis of Contents.

Pigments, Paint, and Painting: embracing the preparation of Pigments, including alumina lakes, blacks (animal, bone, Frankfort, ivory, lamp, sight, soot), blues (antimony, Antwerp, cobalt, cœruleum, Egyptian, manganate, Paris, Péligot, Prussian, smalt, ultramarine), browns (bistre, hinau, sepia, sienna, umber, Vandyke), greens (baryta, Brighton, Brunswick, chrome, cobalt, Douglas, emerald, manganese, mitis, mountain, Prussian, sap, Scheele’s, Schweinfurth, titanium, verdigris, zinc), reds (Brazilwood lake, carminated lake, carmine, Cassius purple, cobalt pink, cochineal lake, colcothar, Indian red, madder lake, red chalk, red lead, vermilion), whites (alum, baryta, Chinese, lead sulphate, white lead—by American, Dutch, French, German, Kremnitz, and Pattinson processes, precautions in making, and composition of commercial samples—whiting, Wilkinson’s white, zinc white), yellows (chrome, gamboge, Naples, orpiment, realgar, yellow lakes); Paint (vehicles, testing oils, driers, grinding, storing, applying, priming, drying, filling, coats, brushes, surface, water-colours, removing smell, discoloration; miscellaneous paints—cement paint for carton-pierre, copper paint, gold paint, iron paint, lime paints, silicated paints, steatite paint, transparent paints, tungsten paints, window paint, zinc paints); Painting (general instructions, proportions of ingredients, measuring paint work; carriage painting—priming paint, best putty, finishing colour, cause of cracking, mixing the paints, oils, driers, and colours, varnishing, importance of washing vehicles, re-varnishing, how to dry paint; woodwork painting).

87JUST PUBLISHED.
Crown 8vo, cloth, 480 pages, with 183 illustrations, 5s.
WORKSHOP RECEIPTS,
THIRD SERIES.
By C. G. WARNFORD LOCK.
Uniform with the First and Second Series.
Synopsis of Contents.
88JUST PUBLISHED.
In demy 8vo, cloth, 600 pages, and 1420 Illustrations, 6s.
SPONS’
MECHANIC’S OWN BOOK;
A MANUAL FOR HANDICRAFTSMEN AND AMATEURS.
Contents.

Mechanical Drawing—Casting and Founding in Iron, Brass, Bronze, and other Alloys—Forging and Finishing Iron—Sheet-metal Working—Soldering, Brazing, and Burning—Carpentry and Joinery, embracing descriptions of some 400 Woods, over 200 Illustrations of Tools and their uses, Explanations (with Diagrams) of 116 joints and hinges, and Details of Construction of Workshop appliances, rough furniture. Garden and Yard Erections, and House Building—Cabinet-Making and Veneering—Carving and Fretcutting—Upholstery—Painting, Graining, and Marbling—Staining Furniture, Woods, Floors, and Fittings—Gilding, dead and bright, on various grounds—Polishing Marble, Metals, and Wood—Varnishing—Mechanical movements, illustrating contrivances for transmitting motion—Turning in Wood and Metals—Masonry, embracing Stonework, Brickwork, Terracotta, and Concrete—Roofing with Thatch, Tiles, Slates, Felt, Zinc, &c.—Glazing with and without putty, and lead glazing—Plastering and Whitewashing—Paper-hanging—Gas-fitting—Bell-hanging, ordinary and electric Systems—Lighting—Warming—Ventilating—Roads, Pavements, and Bridges—Hedges, Ditches, and Drains—Water Supply and Sanitation—Hints on House Construction suited to new countries.

London: E. & F. N. SPON, 125, Strand.
New York: 35, Murray Street.

TRANSCRIBER’S NOTES

  1. Silently corrected typographical errors and variations in spelling.
  2. Anachronistic, non-standard, and uncertain spellings retained as printed.
  3. Footnotes have been re-indexed using numbers.
*** END OF THE PROJECT GUTENBERG EBOOK 60721 ***